[附源码]计算机毕业设计Python疫苗药品批量扫码识别追溯系统(程序+源码+LW文档)
该项目含有源码、文档、程序、数据库、配套开发软件、软件安装教程
项目运行
环境配置:
Pychram社区版+ python3.7.7 + Mysql5.7 + HBuilderX+list pip+Navicat11+Django+nodejs。
项目技术:
django + python+ Vue 等等组成,B/S模式 +pychram管理等等。
环境需要
1.运行环境:最好是python3.7.7,我们在这个版本上开发的。其他版本理论上也可以。
2.pycharm环境:pycharm都可以。推荐pycharm社区版;
3.mysql环境:建议是用5.7版本均可
4.硬件环境:windows 7/8/10 1G内存以上;或者 Mac OS;
6.Navcat11:这个版本不限10/11/14/15都可以。;
Python-Django毕设帮助,指导,本源码(见文末),调试部署
5.1管理员功能模块
管理员登录,通过填写注册时输入的用户名、密码、选择角色进行登录,如图5-1所示。

图5-1管理员登录界面图
管理员登录进入疫苗药品批量扫码识别追溯系统可以查看首页、个人中心、用户管理、 医生管理、扫码入库管理、疫苗库管理、疫苗种类管理、疫苗出库管理、疫苗接种管理、疫苗销毁管理、统计信息管理等信息进行详细操作,如图5-2所示。

图5-2管理员功能界面图
用户管理,在用户管理页面中可以对索引、账号、姓名、年龄、性别、手机、身份证、照片等信息进行详情或删除等操作,如图5-3所示。

图5-3用户管理界面图
医生管理,在医生管理页面中可以对索引、医生工号、医生姓名、职称、性别、医龄、联系电话、身份证、头像等信息进行详情或删除等操作,如图5-4所示。

图5-4医生管理界面图
扫码入库管理,在扫码入库管理页面中可以对索引、扫描入库、二维码等信息进行详情、扫码入库、修改或删除等操作,如图5-5所示。

图5-5扫码入库管理界面图
疫苗库管理,在疫苗库管理页面中可以对索引、疫苗名称、疫苗种类、批次号、图片、数量、生产日期、保质期、生产厂商、入库时间、入库备注等信息进行详情、疫苗出库、修改或删除等操作,如图5-6所示。

图5-6疫苗库管理界面图
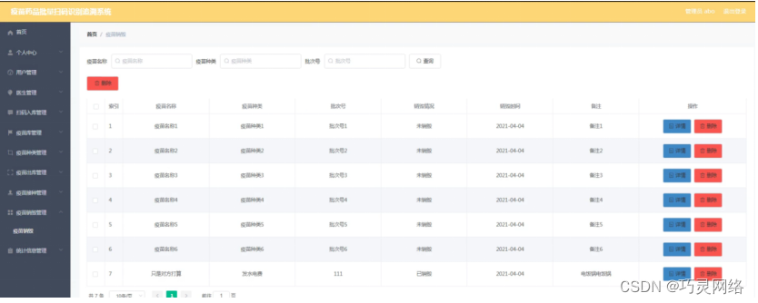
疫苗出库管理,在疫苗出库管理页面中可以对索引、疫苗名称、疫苗种类、批次号、类型、数量、生产日期、保质期、生产厂商、出库时间、出库备注等信息进行详情、疫苗销毁或删除等操作,如图5-7所示。

图5-7疫苗出库管理界面图
疫苗接种管理,在疫苗接种管理页面中可以对索引、疫苗名称、疫苗种类、批次号、接种情况、接种时间、备注、账号、姓名、手机、医生工号、医生姓名、联系电话等信息进行详情或删除等操作,如图5-8所示。

图5-8疫苗接种管理界面图
疫苗销毁管理,在疫苗销毁管理页面中可以对索引、疫苗名称、疫苗种类、批次号、销毁情况、销毁时间、备注等信息进行详情或删除等操作,如图5-9所示。

图5-9疫苗销毁管理界面图
统计信息管理,在统计信息管理页面中可以对索引、统计编号、日期、接种人数、疫苗名称、批次号、疫苗数量、备注等信息进行详情,修改或删除等操作,如图5-10所示。

图5-10统计信息管理界面图
5.2医生功能模块
医生登录进入系统可以查看首页、个人中心、用户管理、疫苗出库管理、疫苗接种管理等内容进行详细操作,如图5-11所示。

图5-11医生功能界面图
个人中心,在个人中心页面中可以填写医生工号、医生姓名、职称、性别、医龄、联系电话、身份证、头像等信息进行修改操作,如图5-12所示。

图5-12个人中心界面图
疫苗出库管理,在疫苗出库管理页面中可以对索引、疫苗名称、疫苗种类、批次号、类型、数量、生产日期、保质期、生产厂商、出库时间、出库备注等信息进行详情、疫苗接种等操作,如图5-13所示。

图5-13疫苗出库管理界面图
5.3用户功能模块
用户登录进入系统可以查看首页、个人中心、疫苗接种管理等内容进行详细操作,如图5-14所示。

图5-14用户功能界面图
个人中心,在个人中心页面中可以填写账号、姓名、年龄、性别、手机、身份证、照片等信息进行修改操作,如图5-15所示。

图5-15个人中心界面图
Python-Django毕设帮助,指导,源码获取������������������,调试部署
本文来自互联网用户投稿,文章观点仅代表作者本人,不代表本站立场,不承担相关法律责任。如若转载,请注明出处。 如若内容造成侵权/违法违规/事实不符,请点击【内容举报】进行投诉反馈!
