[独有源码]springboot疫苗药品批量扫码识别追溯系统_36o56借鉴他人经验,找到适合自己的毕业设计
本项目包含程序+源码+数据库+LW+调试部署环境,文末可获取一份本项目的java源码和数据库参考。
系统的选题背景和意义
选题背景: 随着疫苗的广泛应用和人们对药品安全的关注,建立一套可靠的疫苗药品批量扫码识别追溯系统变得尤为重要。目前,传统的药品追溯方式主要依赖于人工记录和手动查询,存在信息不准确、效率低下以及易于篡改等问题。而疫苗作为一种特殊的药品,其质量和安全性直接关系到公众的健康和生命安全。因此,采用现代化的技术手段,建立起一套高效、准确的疫苗药品批量扫码识别追溯系统势在必行。
意义: 疫苗药品批量扫码识别追溯系统的建立具有重要的意义。首先,通过扫码识别技术,可以实现对疫苗药品的全程追溯,包括生产、流通、销售等环节,确保每一支疫苗的来源可查、去向可追。这将有效提高疫苗的质量和安全性,避免假冒伪劣产品的流入市场,保障公众的用药安全。
其次,疫苗药品批量扫码识别追溯系统的建立可以提高工作效率。传统的人工记录和手动查询方式耗时费力,容易出现信息错误和遗漏,而采用扫码识别技术可以实现自动化、快速准确地获取相关信息,大大节省了人力资源和时间成本。
此外,疫苗药品批量扫码识别追溯系统还有助于监管部门的监督和管理。通过对疫苗流通环节的数据分析和监控,可以及时发现和处理问题,加强对药品市场的监管,维护公众的合法权益。
总之,建立一套可靠的疫苗药品批量扫码识别追溯系统对于保障公众的用药安全、提高工作效率以及加强监管具有重要的意义。它将为疫苗行业的发展提供有力支持,促进社会的健康稳定发展。
以上选题背景和意义内容是根据本选题撰写,非本作品实际的选题背景、意义或功能。各位童鞋可参考用于写开题选题和意义内容切勿直接引用。本作品的实际功能和技术以下列内容为准。
技术栈:
本项目的技术栈主要包括前端Vue、后端Java程序语言开发、SSM框架和MySQL5.7数据库。
Vue是一种轻量级的JavaScript框架,能够快速构建交互式的用户界面。Vue提供了易于使用的API,使得开发者可以非常容易地创建组件化、可复用的代码。
Java是一种跨平台的编程语言,拥有丰富的库和工具生态系统,广泛用于企业级应用开发。Java在后端服务开发方面拥有强大的性能和可伸缩性,并且能够很好地与其他技术栈集成,如Spring、Hibernate、MyBatis等。
SSM框架是Spring、SpringMVC和MyBatis三个框架的结合体,其整合了各自优势,形成了完整的Web开发框架。本系统客户端向服务器发送请求,SpringMVC拦截请求交给相应的控制器(Controller)处理,使用注解或配置文件定义URL和方法映射,控制器调用Service层中的业务逻辑处理方法,Service层处理完毕后将结果返回给控制器,控制器根据返回的结果选择适当的视图(View)进行展示,视图渲染完成后返回给客户端的过程。
MySQL5.7是一种开源的关系型数据库管理系统,在数据存储和管理方面表现优异。它能够轻松地集成到任何技术栈中,如Java、Python、Ruby等。除此之外,MySQL还具备高可靠性、高稳定性、易扩展性和强数据安全性等特点。
我们选择Vue、Java、SSM框架和MySQL5.7作为本作品的技术栈,具有语言间的无缝协作、代码复用性强、开发效率高、性能高等诸多优势。
3.1 可行性分析
可行性分析是每开发一个项目必不可少的一部分,可行性分析可以直接影响一个系统的存活问题,针对开发意义进行分析,还有就是是否可以通过所开发的系统来弥补传统疫苗药品批量扫码识别追溯管理信息管理模式的不足,是否能够更好的解决疫苗药品批量扫码识别追溯管理信息管理问题等,通过对该疫苗药品批量扫码识别追溯系统的开发设计,不仅能够逐步减少工作人员的工作量,而且还可以进行高效工作和管理。所以该系统的开发实现了最大的意义和价值,在系统完成后,利益是否大过于成本,是否能够达到预期效果,这些方面都要进行可行性分析,再通过分析之后,就可以决定是否开发此系统。该疫苗药品批量扫码识别追溯系统的开发设计中,以下几点进行了可行性分析:技术可行性:通过Java技术的采用,由于该技术不断成熟,所以使用该技术设计在线疫苗药品批量扫码识别追溯系统是具有可行性的。经济可行性:在开发过程中,系统完成后的利益是否大过于开发成本。操作可行性:疫苗药品批量扫码识别追溯系统的开发设计中,方便用户的可操作性和实用性。
3.1.1 技术可行性
由于Java技术的不断成熟,所以它在本次疫苗药品批量扫码识别追溯系统中是非常重要的,该系统的开发主要是基于服务端采用Java 、B/S结构和mysql数据库进行开发设计的。通过对这些技术进行使用,从而保证了系统的完整性和简单性。并且在数据库中保证数据的安全性和稳定性。在校时间我们对Java语言技术和mysql数据库技术进行了学习和交流,并且对软件测试也是简单的了解,然后根据这些课程学习我们可以做出一个简单的系统开发、检验和辨别。通过Java技术和Mysql数据库的相互配合开发出一个高效、稳定的疫苗药品批量扫码识别追溯系统。
(1)轻量级系统,使用灵活:疫苗药品批量扫码识别追溯系统,设计时,考虑到不同使用者的习惯,让系统比较轻量级,便于安装,也完成了系统所具备的所有功能,在以上基础上,通过系统测试与优化,让操作更加灵活。
(2)系统开发0成本:该疫苗药品批量扫码识别追溯系统,以开源的Windows 7 操作系统为基础,采用Java技术编码开发,并使用MySQL轻量级数据库,没有多余的开发成本。
(3)覆盖范围:任何城市,都能安装使用本次设计的疫苗药品批量扫码识别追溯系统,对系统使用方没有严格的规定,平台搭建好了就能使用。
3.1.2 经济可行性
通过经济效益和社会价值来决定一个系统的存活问题,是否通过开发疫苗药品批量扫码识别追溯系统来帮助管理员减少工作,是否能够方便用户的使用,假如开发的软件不能够实现成本节约和资源节约,并且还要投入大量的时间、经济和精力,那么这个系统的开发设计是没有意义和价值的,就不具备开发设计的条件。
3.1.3 操作可行性
此次开发的疫苗药品批量扫码识别追溯系统登录界面是我们最常见的一种登录窗口进行造成的,只需通过电脑就可以登录访问,没有那些复杂的登录过程。该在线疫苗药品批量扫码识别追溯系统主要是采用B/S结构、Java语言技术以及mysql数据库进行开发设计的,使得系统的开发更高效和稳定,也体现出来该系统的的现代化和规范化。用户可以轻松的进行学习,其系统主要特点就是易操作和易管理。
3.2 系统性能分析
1.系统功能完整性:根据系统每一个功能模块,都能够设计出当初的算法和代码,用户信息主要是以文字和表格的模式进行介绍。
2.系统运行分析:系统中的每一个功能都要有相应的代码和编写数据的关系。系统的物理的数据主要是通过需求分析和可行性分析进行分析和显示的。
3.界面设计:系统中的软件都是由不同的代码来进行处理和分析的,并且保证了系统界面的易操作性能。
4.安全分析:不同的角色要有不同的信息,所以我们登录系统时必须要使用自己的账号和密码进行登录,不能随意进行操作,这样才可以保证系统的安全性。
3.3 系统功能需求分析
任务需求分析是每个系统开发设计必不可少的一部分,系统质量的好坏可以直接影响系统的存活问题,所以我们必须要将任务需求分析做到位,在线疫苗药品批量扫码识别追溯系统的设计在初期的分析是尤为重要的,通过任务分析可以更顺利的进行系统设计,并且保证了用户的满意度。
(1)医生功能需求
医生进入系统可以查看首页、个人中心、用户管理、疫苗出库管理、疫苗接种管理等操作。医生户例图如图3-1所示。

图3-1医生用例图
用户进入系统可以查看首页、个人中心、疫苗接种管理等操作。用户例图如图3-2所示。

图3-2 用户用例图
(3)管理员功能需求
管理员登陆后,主要功能模块包括首页、个人中心、用户管理、 医生管理、扫码入库管理、疫苗库管理、疫苗种类管理、疫苗出库管理、疫苗接种管理、疫苗销毁管理、统计信息管理等功能。管理员用例图如图3-3所示。

图3-3 管理员用例图
第四章 系统设计
4.1 系统的功能结构图
经过系统需求分析,该疫苗药品批量扫码识别追溯系统的设计与实现功能结构图如图4-1所示:

图4-1 系统功能结构图
4.2 数据库概念结构设计
4.2.1 数据库E-R图
概念设计主要是通过数据库的概念结构和模式进行建立数据库嗯逻辑结构,然后利用数据库的DBMS进行完成,它不需要计算机系统的支持。通过系统的整体来看,主要是对数据库进行管理、整理、更新等操作。数据库的功能是非常强大的,每个系统的开发肯定离不开数据库,通过数据库可以看得出整个系统的质量和效率,根据以上的系统分析,对系统中的主要实体进行规划。以下是几个关键实体的实体关系图:
(1) 扫码入库管理实体E-R图如图4-2所示:

图4-2扫码入库管理实体属性图
(2) 疫苗库管理E-R图如图4-3所示:

图4-3疫苗库管理实体图
(3) 疫苗接种管理E-R图如图4-4所示:

图4-4疫苗接种管理实体图
5.1管理员功能模块
管理员登录,通过填写注册时输入的用户名、密码、选择角色进行登录,如图5-1所示。

图5-1管理员登录界面图
管理员登录进入疫苗药品批量扫码识别追溯系统可以查看首页、个人中心、用户管理、 医生管理、扫码入库管理、疫苗库管理、疫苗种类管理、疫苗出库管理、疫苗接种管理、疫苗销毁管理、统计信息管理等信息进行详细操作,如图5-2所示。

图5-2管理员功能界面图
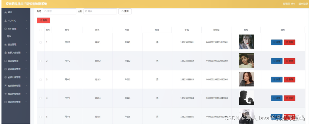
用户管理,在用户管理页面中可以对索引、账号、姓名、年龄、性别、手机、身份证、照片等信息进行详情或删除等操作,如图5-3所示。

图5-3用户管理界面图
医生管理,在医生管理页面中可以对索引、医生工号、医生姓名、职称、性别、医龄、联系电话、身份证、头像等信息进行详情或删除等操作,如图5-4所示。

图5-4医生管理界面图
扫码入库管理,在扫码入库管理页面中可以对索引、扫描入库、二维码等信息进行详情、扫码入库、修改或删除等操作,如图5-5所示。

图5-5扫码入库管理界面图
疫苗库管理,在疫苗库管理页面中可以对索引、疫苗名称、疫苗种类、批次号、图片、数量、生产日期、保质期、生产厂商、入库时间、入库备注等信息进行详情、疫苗出库、修改或删除等操作,如图5-6所示。

图5-6疫苗库管理界面图
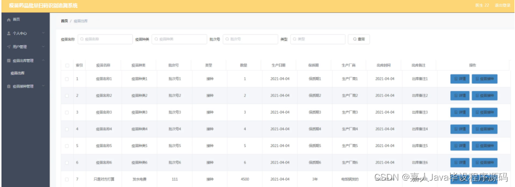
疫苗出库管理,在疫苗出库管理页面中可以对索引、疫苗名称、疫苗种类、批次号、类型、数量、生产日期、保质期、生产厂商、出库时间、出库备注等信息进行详情、疫苗销毁或删除等操作,如图5-7所示。

图5-7疫苗出库管理界面图
疫苗接种管理,在疫苗接种管理页面中可以对索引、疫苗名称、疫苗种类、批次号、接种情况、接种时间、备注、账号、姓名、手机、医生工号、医生姓名、联系电话等信息进行详情或删除等操作,如图5-8所示。

图5-8疫苗接种管理界面图
疫苗销毁管理,在疫苗销毁管理页面中可以对索引、疫苗名称、疫苗种类、批次号、销毁情况、销毁时间、备注等信息进行详情或删除等操作,如图5-9所示。

图5-9疫苗销毁管理界面图
统计信息管理,在统计信息管理页面中可以对索引、统计编号、日期、接种人数、疫苗名称、批次号、疫苗数量、备注等信息进行详情,修改或删除等操作,如图5-10所示。

图5-10统计信息管理界面图
5.2医生功能模块
医生登录进入系统可以查看首页、个人中心、用户管理、疫苗出库管理、疫苗接种管理等内容进行详细操作,如图5-11所示。

图5-11医生功能界面图
个人中心,在个人中心页面中可以填写医生工号、医生姓名、职称、性别、医龄、联系电话、身份证、头像等信息进行修改操作,如图5-12所示。

图5-12个人中心界面图
疫苗出库管理,在疫苗出库管理页面中可以对索引、疫苗名称、疫苗种类、批次号、类型、数量、生产日期、保质期、生产厂商、出库时间、出库备注等信息进行详情、疫苗接种等操作,如图5-13所示。

图5-13疫苗出库管理界面图
5.3用户功能模块
用户登录进入系统可以查看首页、个人中心、疫苗接种管理等内容进行详细操作,如图5-14所示。

图5-14用户功能界面图
个人中心,在个人中心页面中可以填写账号、姓名、年龄、性别、手机、身份证、照片等信息进行修改操作,如图5-15所示。

图5-15个人中心界面图
文末可提供源码和数据库分享,另有JAVA毕设的帮助、指导,调试和部署等方面的支持。
本文来自互联网用户投稿,文章观点仅代表作者本人,不代表本站立场,不承担相关法律责任。如若转载,请注明出处。 如若内容造成侵权/违法违规/事实不符,请点击【内容举报】进行投诉反馈!
