c语言5v电源电路工作原理,稳压电源电路图详解_5v稳压电源电路原理图
描述
稳压电源(stabilized voltage supply)是能为负载提供稳定的交流电或直流电的电子装置,包括交流稳压电源和直流稳压电源两大类。当电网电压或负载出现瞬间波动时,稳压电源会以10-30ms的响应速度对电压幅值进行补偿,使其稳定在±2%以内。
本文主要介绍稳压电源的电路图及5v稳压电源电路原理图等,具体的跟随小编一起来了解一下。
稳压电源电路图详解
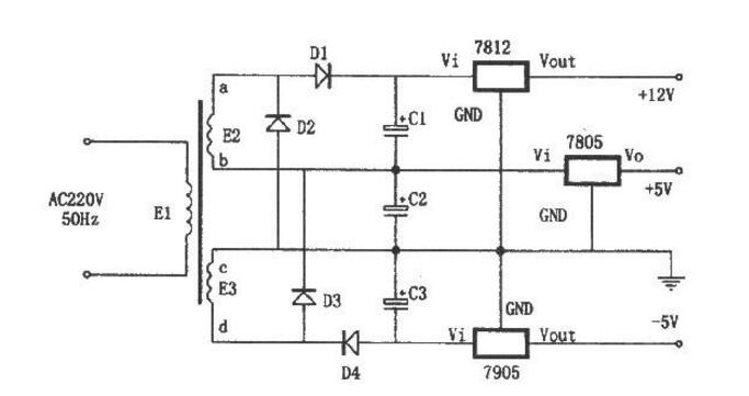
一、由7805,7905,7812组成的特殊的线性稳压电源
如图所示为一种特殊的电源电路。该电路虽然简单,但可以从两个相同的次级绕组中产生 出三组直流电压:+5V、-5V和+12V。其特点是:D2、D3跨接在E2、E3这两组交流电源之间,起着全波整流的作用。

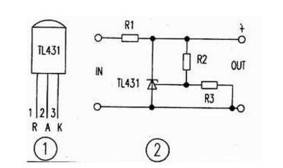
二、利用TL431作大功率可调稳压电源
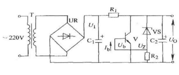
精密电压基准ICTL431是T0—92封装如图1所示。其性能是输出压连续可调达 36V,工作电流范围宽达0.1。100mA,动态电阻典型值为0.22欧,输出杂波低。图2是TL431的典型应用,其中③、②脚两端输出电压 V=2.5(R2十R3)V/R3。如果改变R2的阻值大小,就可以改变输出基准电压大小。图3是利用它作电压基准和驱动外加场效应管K790作调整管构 成的输出电流大(约6A)、电路简单、安全的稳压电源。
工作原理
如图3所示,220v电压经变压器B降压、D1-D4整流、C1滤波。此外 D5、D6、C2、C3组成倍压电路(使得Vdc=60V),Rw、R3组成分压电路,T1431、R1组成取样放大电路,9013、R2组成限流保护电路,场效应管K790作调整管(可直接并联使用)以及C5是输出滤波器电路等。
稳压过程是:当输出电压降低时,f点电位降低,经T1431内部放大使e点电压增高,经K790调 整后,b点电位升高;反之,当输出电压增高时,f点电位升高,e点电位降低,经K790调整后,b点电位降低。从而使输出电压稳定。当输出电流大于6A 时,三极管9013处于截止,使输出电流被限制在6A以内,从而达到限流的目的。本电路除电阻R1选用2W、R2选用5W外,其它元件无特殊要求,其元件 参数如图3所示。


三、具有过电流保护的晶体管稳压电路

5v稳压电源电路原理图
一、7805组成的5V输出的电源电路
78XX系列集成稳压器的典型应用电路如下图所示,这是一个输出正5V直流电压的稳压电源电路。IC采用集成稳压器7805,C1、C2分别为输入端和输出端滤波电容,RL为负载电阻。当输出电较大时,7805应配上散热板。

图为提高输出电压的应用电路。稳压二极管VD1串接在78XX稳压器2脚与地之间,可使输出电压Uo得到一定的提高,输出电压Uo为78XX稳压器输出电压与稳压二极管VC1稳压值之和。VD2是输出保护二极管,一旦输出电压低于VD1稳压值时,VD2导通,将输出电流旁路,保护7800稳压器输出级不被损坏。

图为输出电压可在一定范围内调节的应用电路。由于R1、RP电阻网络的作用,使得输出电压被提高,提高的幅度取决于RP与R1的比值。调节电位器RP,即可一定范围内调节输出电压。当RP=0时,输出电压Uo等于78XX稳压器输出电压;当RP逐步增大时,Uo也随之逐步提高。
二、采用A723构成的输出20A 5V稳压电源电路

图所示是采用A723构成的输出20A/5V稳压电源电路,本电路外接晶体管使输出电流达到20A,若输出电压超过6V,晶闸管VS动作,防止输出端短路时产生的过电压,若输出电压低于5V时,输入电压约为13V,A723的工作电源由辅助电源提供,恒流保护回路的动作电流约为30A,输出电压可调范围为4.92-5.09V,电路中采用多个晶体管并联须注意均流问题。
三、MAX610不间断5V电源电路

图中为不间断5V电源电路,市电供电时,V通过R2向7.2V电池缓慢充电市电停止供电时,电池通过二极管VD1提供电源,MAX610可连续提供5V电压输出直到V+近似为、5.8V,即使、电池电压降为6.5V。
打开APP精彩内容
点击阅读全文
本文来自互联网用户投稿,文章观点仅代表作者本人,不代表本站立场,不承担相关法律责任。如若转载,请注明出处。 如若内容造成侵权/违法违规/事实不符,请点击【内容举报】进行投诉反馈!
