Max7219驱动16x16共阴LED点阵实战
Max7219驱动16x16共阴LED点阵实战
- 16x16共阴LED点阵+Max7219+STM32CubeMX+STM23F03+AD20
- 1.1 Max7219共阴LED驱动芯片注意事项
- 1.2 LED点阵原理图和PCB板制作
- 1.3 Max7219的STM32F103控制程序
- 1.4 参考资料与下载
16x16共阴LED点阵+Max7219+STM32CubeMX+STM23F03+AD20
因为家里刚好有几个共阴极LED点阵闲置,然后就想做个16X16的LED字幕显示。这里先展示最终成果:
1.1 Max7219共阴LED驱动芯片注意事项
(先不说其他的先说注意事项吧,其他你们慢慢看芯片手册)
-
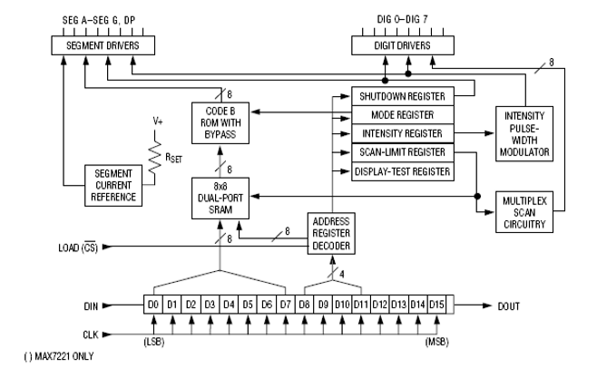
芯片是串行输入数据到移位寄存器中(CLK端控制),然后并行对外引脚输出(通过LOAD端控制)。每一个时钟CLK端上升沿DIN端的一位数据将被写到芯片的移位寄存器中(下一个时钟上升沿该位数据会被移后一位),就这样直到时钟端有出现16个上升沿芯片的移位寄存器才会被占满。若此时将LOAD端置为高,那么这16位数据将会被加载到芯片内部数据寄存器中,并按照数据协议格式进行地址和数据的译码,从而来控制芯片工作。
-
芯片内部通过一些写寄存器来控制芯片工作(方式是直接寻址),如数据寄存器,扫描寄存器,模式寄存器等。16位串行数据格式:
| D15 | D14 | D13 | D12 | D11 D10 D9 D8 | D7 D6 D5 D4 D3 D2 D1 D0 |
|---|---|---|---|---|---|
| X | X | X | X | 寄存器地址 | 数据 |
我这将XXXX这四位都设为0,在十六进制显示就是0x0XXX,所以我所有的控制指令都是0x0开头的。你可以在你单片机控制程序中的头文件定义这些指令。
-
关于芯片引脚DIG0-DIG7和SRGA-SEGG、SEGDP控制原理 :
假如控制8个数码管(共阴极),想让第3个数码管显示你要的数字,那么你需要往Digit2这个地址写一个数据,而该数据就是你先要显示的数字译码如"4"->数码管LEDA-LEDG对应为0110011(不含小数点),这7位数据作为数据部分的低7位,小数点在第8位。那么芯片就会将DIG2引脚拉低(该引脚可以看成是片选引脚),SEGA-SEGG、SEGDP对应电平就是写到数据部分的对应电平,1-高电平,0-低电平。那么你的数码管就会显示一个"4"。而且你只需写往地址上写一次数据就行,因为它会自动扫描数据寄存器的值,然后控制对应引脚的电平,只有LOAD引脚可以更新数据寄存器中的值,也就说它会帮你锁存数据。
假如控制一个LED点阵(共阴极),DIG0-DIG7这八个引脚需要连接到点阵的8个阴极引脚,一般芯片的DI0引脚连到点阵第一行的阴极引脚,DIG1连到点阵第二行阴极引脚…如此类推。SEGDP引脚连接到点阵阳极左边的第一个引脚(高位第一位),SEGA-SEGG连接后面低七位的引脚。那么想让第3行全亮,往Digit2这个地址写一个数据,这个数据是0xFF(11111111b),然后DIG2引脚被拉低,SEGDP,SEGA-SEGG都会高电平,然后第3行就全被点亮了。值得一提是,控制点阵的话,需要设置芯片在非译码工作模式,这样你写到Digit0-Digit7地址上的数据就是你对应行对应位置点亮的LED位。如数据部分为0x00某一行全灭,0xFF某一行全亮,非常方便。
1.2 LED点阵原理图和PCB板制作
-
原理图:

R1为限流电阻,主要来控制通知通过每一个LED灯的电流来控制点阵的两度,同时可以通过亮度控制寄存器来控制LED点阵的显示亮度。C1,C2是滤波电容,采用通常电源滤波参数即可。我这里只给出一个点阵显示的原理图,其他3个也是一样的配置。我这里的所有引脚都是用单片机的GPIO口控制。 -
PCB板:

PCB板为双层板,一共用4个LED点阵拼起来,变成16X16大的LED点阵,那么要显示的汉字,英文啥的基本都可以显示。下面我用一个排针引出来四个芯片的控制接口,直接接到STM32单片机的GPIO口上进行控制。强调一下,一开始调试的时候如果没有外接5V供电,设置亮度寄存器采用亮度小一点的参数,不然从单片机过来的5V可能不能支持4个LED点阵全亮或进行自检(USB口电流不够)。不过可以4个点阵轮流进行自检,保证点阵中的LED没有损坏。
关于原理图的封装和PCB的3D可以到某些EDA电子论坛下载一下,一般都可以找到,如果想要也可以给我留言。
1.3 Max7219的STM32F103控制程序
STM32工程直接用STM32CubeMX生成,在上面配置一下RCC时钟,和接到PCB端子中的GPIO口即可。下面讲解用于显示的核心程序:
- 为要显示的字符多种多样,所以需要一个字符取模软件来生成对应字符逻辑编码,该编码于LED亮灯的逻辑位置和逻辑电平是一致的。
我用的是PCtoLCD2002完美版字符取模软件。将得到的字符编码复制粘贴到程序文件中静态的数组变量中,使用的时候将该变量作为参数传入显示函数中进行操作。 - STM32核心控制程序:

注意:因为我设计时是将4个芯片的LOAD端和CLK端分别共在一起,这就说我写数据的时候,一个时钟上升沿写分别写4个芯片的1位,16个时钟上升沿后,再把LOAD端置高,那我分别往4个芯片的目标地址写了一个字节的数据(Write_bytes函数)。下面详细展示Write_bytes函数:
至此,结合芯片手册简单操作和稍微写一下C程序一些就能让LED点阵显示你想要的字符。
总结:整个制作过程虽然每一步不算难,但是从构思设计到硬件设计焊接PCB再到软件编写,都是包含了我个人对Max7129芯片的一些理解。在这个过程中也遇到了不少小问题,但还是按部就班,不求甚解,坚持下来,才顺利完成这个小制作。
1.4 参考资料与下载
- 资料下载链接
- 欢迎大家留言交流
本文来自互联网用户投稿,文章观点仅代表作者本人,不代表本站立场,不承担相关法律责任。如若转载,请注明出处。 如若内容造成侵权/违法违规/事实不符,请点击【内容举报】进行投诉反馈!
