[附源码]SSM计算机毕业设计图书管理系统论文JAVA
项目运行
环境配置:
Jdk1.8 + Tomcat7.0 + Mysql + HBuilderX(Webstorm也行)+ Eclispe(IntelliJ IDEA,Eclispe,MyEclispe,Sts都支持)。
项目技术:
SSM + mybatis + Maven + Vue 等等组成,B/S模式 + Maven管理等等。
环境需要
1.运行环境:最好是java jdk 1.8,我们在这个平台上运行的。其他版本理论上也可以。
2.IDE环境:IDEA,Eclipse,Myeclipse都可以。推荐IDEA;
3.tomcat环境:Tomcat 7.x,8.x,9.x版本均可
4.硬件环境:windows 7/8/10 1G内存以上;或者 Mac OS;
5.是否Maven项目: 否;查看源码目录中是否包含pom.xml;若包含,则为maven项目,否则为非maven项目
6.数据库:MySql 5.7/8.0等版本均可;
毕设帮助,指导,本源码分享,调试部署(见文末)
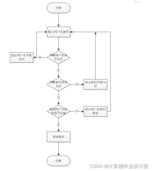
3.4系统流程分析
3.4.1操作流程
系统登录流程图,如图所示:

图3-1登录流程图
3.4.2添加信息流程
添加信息流程图,如图所示:
图3-2添加信息流程图
3.4.3删除信息流程
删除信息流程图,如图所示:

图3-3删除信息流程图
4.1 系统体系结构
图书管理系统的结构图4-1所示:

图4-1 系统结构
登录系统结构图,如图4-2所示:

图4-2 登录结构图
管理员结构图,如图4-3所示。

图4-3 管理员结构图
4.2开发流程设计
系统流程的分析是通过调查系统所涉及问题的识别、可行性、可操作性、系统分析处理能力等具体环节来调节、整理系统的设计方案以确保系统能达到理想的状态。这些操作都要从注册、登录处着眼进行一系列的流程测试保证数据库的完整,从而把控系统所涉及信息管理的安全、保证信息输入、输出正常转换。然后,通过实际操作完成流程图的绘制工作。
图书管理系统的开发对管理模块和系统使用的数据库进行分析,编写代码,系统测试,如图4-4所示。

图4-4开发系统流程图
4.3 数据库设计原则
学习编程,我们都知道数据库设计是基于需要设计的系统功能,我们需要建立一个数据库关系模型,用于存储数据信息,这样当我们在程序中时,就没有必要为程序页面添加数据,从而提高系统的效率。数据库存储了很多信息,可以说是信息管理系统的核心和基础,数据库还提供了添加、删除、修改和检查,使系统能够快速找到自己想要的信息,而不是在程序代码中找到。数据库中信息表的每个部分根据一定的关系精确地组合,排列和组合成数据表。
通过图书管理系统的功能进行规划分成几个实体信息,实体信息将通过ER图进行说明,本系统的主要实体图如下:
管理员信息属性图如图4-5所示。

图4-5 管理员信息实体属性图
用户信息管理实体属性图如图4-6所示。

图4-6用户信息属性图
管理员菜单实体属性图如图4-7所示。

图4-7管理员菜单实体属性图
用户个人资料实体属性图如图4-8所示。

图4-8用户个人资料实体属性图
5.1系统功能模块
图书管理系统,在系统首页可以查看首页、图书信息、新闻资讯、我的、跳转到后台等内容,如图5-1所示。

图5-1系统首页界面图
图书信息,在图书信息页面可以查看图书编号、图书类型、数量、作者、出版社等详细内容进行借阅,如图5-2所示。

图5-2图书信息界面图
用户注册,在用户注册页面通过填写用户名、用户姓名、密码、联系电话、身份证等信息完成用户注册,如图5-3所示。在个人中心页面通过填写用户名、用户姓名、密码、性别、联系电话、身份证等信息进行更新,如图5-4所示。

图5-3用户注册界面图

图5-4个人中心界面图
5.2管理员功能模块
管理员登录,通过填写注册时输入的用户名、密码、角色进行登录,如图5-5所示。

图5-5管理员登录界面图
管理员登录进入图书管理系统可以查看个人中心、图书类型管理、用户管理、系统管理、图书信息管理、入库信息管理、借阅信息管理、归还信息管理等信息,如图5-6所示。

图5-6管理员系统功能界面图
图书类型管理,在图书类型管理页面中可以查看图书类型信息。还可以根据需要进行修改或删除等详细操作,如图5-7所示。

图5-7图书类型管理界面图
用户管理,在用户管理页面中可以查看用户名、用户姓名、密码、性别、联系电话、身份证等信息,并可根据需要进行修改或删除等操作,如图5-8所示。

图5-8用户管理界面图
系统管理,在轮播图信息列表中可以查看name/value等信息,如图5-9所示。在新闻资讯列表中可以查看标题、图片、内容等信息,并可根据需要进行修改或删除等详细操作,如图5-10所示。

图5-9轮播图信息管理界面图

图5-10新闻资讯管理界面图
图书信息管理,在图书信息管理页面中可以查看图书编号、图书名称、图书类型、图片、数量、作者、出版社、简介等信息,并可根据需要进行入库、修改或删除等操作,如图5-11所示。

图5-11图书信息管理界面图
入库信息管理,在入库信息管理页面中可以查看图书编号、图书名称、数量、入库时间、备注等信息,并可根据需要进行修改或删除等操作,如图5-12所示。

图5-12入库信息管理界面图
借阅信息管理,在借阅信息管理页面中可以查看借阅编号、图书编号、图书名称、数量、用户名、用户姓名、联系电话、借阅时间、备注等信息,并可根据需要进行删除操作,如图5-13所示。

图5-13借阅信息管理界面图
JAVA毕设帮助,指导,源码分享,调试部署
本文来自互联网用户投稿,文章观点仅代表作者本人,不代表本站立场,不承担相关法律责任。如若转载,请注明出处。 如若内容造成侵权/违法违规/事实不符,请点击【内容举报】进行投诉反馈!
