【雷达】SAR合成孔径雷达
文章目录
- SAR介绍
- 几个波的概念
- SAR参数
- 波长
- 极化
- 入射角
- SAR散射机制
- 表面和体散射
- 双回波
- 组合散射
- 穿透散射
- SAR图像的理解
- SAR图像的斑点噪声
- SAR的观测方向
- SAR图像几何特征
SAR介绍
用一个小天线作为单个辐射单元,将此单元沿一直线不断移动,在不同位置接收同一地物的回波信号并进行相关解调压缩处理的侧视雷达。可以获取高分辨率的地球表面图像,是目前广泛使用的雷达系统。
几个波的概念
- 波长λ和频率f的关系:λ=c/f
- 振幅A和强度I:I=A²(反映电磁波能量)
- 相位:描述波的振动状态的物理量Φ=2πL/λ,L:传播距离
- 极化:光学中叫偏振
SAR参数
波长
雷达遥感使用的是微波部分的电磁波谱,频率从0.3GHz至300GHz,博城从1m到1mm。
波长越长,穿透能力就越强,如波长大于2cm的雷达系统不受云的影响。
极化
电磁波振动的矢量方向,即电场的方向。主要有垂直极化(H),水平极化(V)

特点:
- 当雷达作用于地球表面时,其极化方式可能改变,产生随机极化反射信号,包含水平和垂直;两种分量
- 极化方式是否改变取决于目标的物理和电特性
- 雷达可以接收反射信号的水平和垂直极化分量
- 四种模式:HH、VV、HV、VH(在前的是接收时的极化方式,在后的是发射时的极化方式)
- 对于同一地区,不同极化方式获取的图像不同

入射角
入射角是雷达波束与垂直表面直线之间的夹角(Θ)
- 微波与表面的相互作用复杂,不同角度区域会产生不同的回波
- 小入射角通常返回较强的信号,随入射角增加,返回信号逐渐减弱
根据雷达距离地表高度的情况,入射角会随着近距离到远距离的改变而改变,从而影响到成像几何。

雷达反射回来的强度随着入射角的增大而减小
- 不同地物随着入射角变化的雷达发射变化情况
- 入射角与雷达后向散射的关系
- 不同的应用选择相应装置的依据

SAR散射机制
雷达图像表示的是地面雷达后向散射的估计值,主要分为5种散射:
- 表面和体散射
- 双回波
- 组合散射
- 穿透散射
- 介电属性散射

表面和体散射
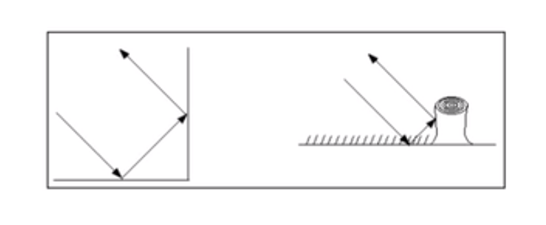
粗糙的表面能得到更高的后向散射,平整表面在雷达图像上经常表现暗区域

双回波
双回波多见于城市区域

组合散射
一般发生在低频SAR系统,包括表面、体散射、双回波,典型的是森林区域

穿透散射
根据计划方式和波长情况,微波可以透入植被、裸土(干雪或沙地)。
一般情况,波长越长,穿透能力越强。
交叉极化(VH/HV)相比同极化(HH/VV)的渗透能力弱。

SAR图像的理解
- 雷达图像是黑白图
- 图像亮度代表后向散射强度。
- 像元内表面越粗糙,后向散射越强。
- 光滑表面镜像反射,后向散射很弱。
- 与散射体的复介电常数有关。
- 含水量越大,后向散射越强。

SAR图像的斑点噪声
- SAR是相干系统,斑点噪声是其固有特性。
- 均匀的区域,图像表现出明显的亮度随机变化,与分辨率、极化、入射角没有直接关系,属于乘机噪声。
- 多视和滤波可以抑制斑点噪声。
SAR的观测方向
距离向:像平面内垂直于飞行方向
- 斜距:雷达到目标的距离方向,雷达探测斜距方向的回波信号
- 地距:将斜距投影到地球表面,是地面物体间的真实距离
方向位:平行于飞行方向


SAR图像几何特征
雷达图像的构像几何学属于斜距投影类型
- 斜距投影是以天线为中,一斜距为半径的同心圆在像面空间上的投影
- 方位向的比例尺是一个常数
- 距离向的比例尺由地面目标位置,该目标到雷达天线的距离决定的

本文来自互联网用户投稿,文章观点仅代表作者本人,不代表本站立场,不承担相关法律责任。如若转载,请注明出处。 如若内容造成侵权/违法违规/事实不符,请点击【内容举报】进行投诉反馈!
