畅购商城_第14章_订单处理
畅购商城_第14章_订单处理
文章目录
- 畅购商城_第14章_订单处理
- 第14章 订单处理
- 课程内容:
- 1. 超时未支付订单处理
- 1.1 需求分析
- 1.2 实现思路
- 1.3 rabbitmq延迟消息
- 1.3.1 消息的TTL(Time To Live)
- 1.3.2 死信交换器 Dead Letter Exchanges
- 1.4 代码实现
- 1.4.1 微信支付-关闭订单
- 1.4.2 微信支付-查询订单
- 1.4.3 订单关闭逻辑
- 1.4.4 延迟消息处理
- 2. 订单批量发货
- 2.1 批量发货业务逻辑
- 2.1.1 需求分析
- 2.1.2 代码实现
- 2.2 对接第三方物流(了解)
- 3. 确认收货与自动收货
- 3.1 确认收货
- 3.1.1 需求分析与实现思路
- 3.1.2 代码实现
- 3.2 自动收货处理
- 3.2.1 需求分析
- 3.2.2 Cron表达式
- 3.2.3 代码实现
- 3.2.3.1 发送消息
- 3.2.3.2 接收消息
第14章 订单处理
课程内容:
- 通过rabbitmq的延迟消息完成超时订单处理
- 完成批量发货功能,了解第三方物流系统
- 完成自动收货功能
1. 超时未支付订单处理
1.1 需求分析
超过限定时间并未支付的订单,我们需要进行超时订单的处理:先调用微信支付api,查询该订单的支付状态。如果未支付调用关闭订单的api,并修改订单状态为已关闭,并回滚库存数。如果该订单已经支付,则做补偿操作(修改订单状态和记录)。
1.2 实现思路
如何获取超过限定时间的订单?我们可以使用延迟消息队列(死信队列)来实现。
所谓延迟消息队列,就是消息的生产者发送的消息并不会立刻被消费,而是在设定的时间之后才可以消费。
我们可以在订单创建时发送一个延迟消息,消息为订单号,系统会在限定时间之后取出这个消息,然后查询订单的支付状态,根据结果做出相应的处理。
1.3 rabbitmq延迟消息
使用RabbitMQ来实现延迟消息必须先了解RabbitMQ的两个概念:消息的TTL和死信Exchange,通过这两者的组合来实现上述需求。
1.3.1 消息的TTL(Time To Live)
消息的TTL就是消息的存活时间。RabbitMQ可以对队列和消息分别设置TTL。对队列设置就是队列没有消费者连着的保留时间,也可以对每一个单独的消息做单独的设置。超过了这个时间,我们认为这个消息就死了,称之为死信。
我们创建一个队列queue.temp,在Arguments 中添加x-message-ttl 为5000 (单位是毫秒),那每一个进入这个队列的消息在5秒后会消失。
1.3.2 死信交换器 Dead Letter Exchanges
一个消息在满足如下条件下,会进死信交换机,记住这里是交换机而不是队列,一个交换机可以对应很多队列。
(1) 一个消息被Consumer拒收了,并且reject方法的参数里requeue是false。也就是说不会被再次放在队列里,被其他消费者使用。
(2)上面的消息的TTL到了,消息过期了。
(3)队列的长度限制满了。排在前面的消息会被丢弃或者扔到死信交换机上。
Dead Letter Exchange其实就是一种普通的exchange,和创建其他exchange没有两样。只是在某一个设置Dead Letter Exchange的队列中有消息过期了,会自动触发消息的转发,发送到Dead Letter Exchange中去。

我们现在可以测试一下延迟队列。
(1)创建死信交换器 exchange.ordertimeout (fanout)
(2)创建队列queue.ordertimeout
(3)建立死信交换器 exchange.ordertimeout 与队列queue.ordertimeout 之间的绑定
(4)创建队列queue.ordercreate,Arguments添加
x-message-ttl=10000
x-dead-letter-exchange: exchange.ordertimeout
(5)测试:向queue.ordercreate队列添加消息,等待10秒后消息从queue.ordercreate队列消失,
1.4 代码实现

1.4.1 微信支付-关闭订单
(1)WxPayController新增方法
/*** 关闭微信订单* @param orderId* @return*/
@PutMapping("/close/{orderId}")
public Result closeOrder(@PathVariable String orderId){Map map = wxPayService.closeOrder( orderId );return new Result( true,StatusCode.OK,"",map );
}
(2)changgou_service_pay的WxPayService新增方法定义
/*** 关闭订单* @param orderId* @return*/
Map closeOrder(String orderId);
(3)changgou_service_pay的 WxPayServiceImpl实现该方法
@Override
public Map closeOrder(String orderId) {Map map=new HashMap( );map.put( "out_trade_no",orderId );try {return wxPay.closeOrder( map );} catch (Exception e) {e.printStackTrace();return null;}
}
(4)changgou_service_pay_api的WxPayFeign新增方法
/*** 关闭微信订单* @param orderId* @return*/
@PutMapping("/wxpay/close/{orderId}")
public Result closeOrder(@PathVariable("orderId") String orderId);
1.4.2 微信支付-查询订单
(1)WxPayController新增方法
/*** 查询微信订单* @param orderId* @return*/
@GetMapping("/query/{orderId}")
public Result queryOrder(@PathVariable String orderId){Map map = wxPayService.queryOrder( orderId );return new Result( true,StatusCode.OK,"",map );
}
(2)WxPayFeign新增方法
/*** 查询微信订单* @param orderId* @return*/
@GetMapping("/wxpay/query/{orderId}")
public Result queryOrder(@PathVariable("orderId") String orderId);
1.4.3 订单关闭逻辑
如果为未支付,查询微信订单
如果确认为未支付,调用关闭本地订单( 修改订单表的订单状态、记录订单日志、恢复商品表库存)和微信订单的逻辑。
如果为已支付进行状态补偿。
(1)changgou_service_order新增依赖
<dependency><groupId>com.changgougroupId><artifactId>changgou_service_pay_apiartifactId><version>1.0-SNAPSHOTversion>
dependency>
(2)changgou_service_order的OrderService新增方法定义
/*** 关闭订单* @param orderId*/
void closeOrder(String orderId);
(3)OrderServiceImpl实现该方法
实现逻辑:
1)根据id查询订单信息,判断订单是否存在,订单支付状态是否为未支付
2)基于微信查询订单支付状态
2.1)如果为success,则修改订单状态
2.2)如果为未支付,则修改订单,新增日志,恢复库存,关闭订单
@Autowired
private WxPayFeign wxPayFeign;@Override
@Transactional
public void closeOrder(String orderId) {System.out.println("关闭订单开启:"+orderId);Order order = orderMapper.selectByPrimaryKey( orderId );if(order==null){throw new RuntimeException( "订单不存在!" );}if(!"0".equals( order.getOrderStatus() )){System.out.println("此订单不用关闭");return;}System.out.println("关闭订单通过校验:"+orderId);//调用微信订单查询,检测支付状态Map wxQueryMap = (Map)wxPayFeign.queryOrder( orderId ).getData();System.out.println("查询微信支付订单:"+wxQueryMap);if("SUCCESS".equals( wxQueryMap.get( "trade_state" ) ) ){ //如果支付状态是成功,进行补偿updatePayStatus( orderId, (String)wxQueryMap.get( "transaction_id" ) );System.out.println("补偿");}if("NOTPAY".equals( wxQueryMap.get( "trade_state" ) ) ){ //如果是未支付,关闭订单System.out.println("执行关闭!");order.setCloseTime( new Date( ) );//关闭时间order.setOrderStatus( "4" );//关闭状态orderMapper.updateByPrimaryKeySelective( order );//更新//记录订单变动日志OrderLog orderLog=new OrderLog();orderLog.setId( idWorker.nextId()+"" );orderLog.setOperater("system");// 系统orderLog.setOperateTime(new Date());//当前日期orderLog.setOrderStatus("4");orderLog.setOrderId(order.getId());orderLogMapper.insert(orderLog);//恢复库存和销量OrderItem _orderItem=new OrderItem();_orderItem.setOrderId( orderId );List<OrderItem> orderItemList = orderItemMapper.select( _orderItem );for(OrderItem orderItem:orderItemList){skuFeign.resumeStockNum(orderItem.getSkuId(),orderItem.getNum());}//关闭微信订单wxPayFeign.closeOrder( orderId );}
}
1.4.4 延迟消息处理
从消息队列queue.ordertimeout 中提取消息
(1)修改OrderServiceImpl的add方法,追加代码,实现mq发送
rabbitTemplate.convertAndSend( "","queue.ordercreate", orderId);
(2)changgou_service_order新建监听类
@Component
public class OrderTimeoutListener {@Autowiredprivate OrderService orderService;/*** 更新支付状态* @param orderId*/@RabbitListener(queues = "queue.ordertimeout")public void closeOrder(String orderId){System.out.println("接收到关闭订单消息:"+orderId);try {orderService.closeOrder( orderId );} catch (Exception e) {e.printStackTrace();}}
}
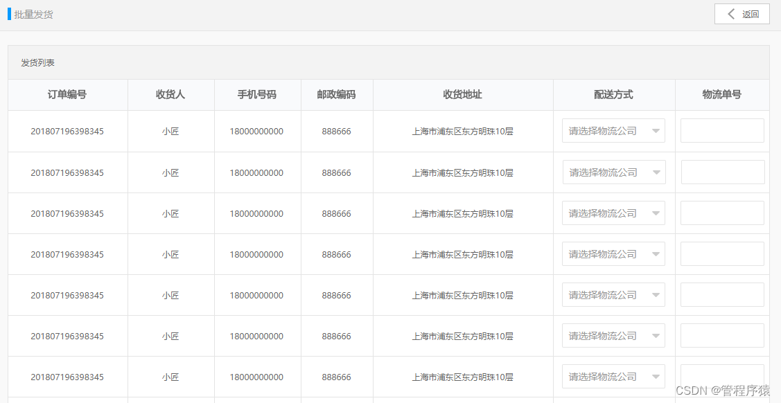
2. 订单批量发货
2.1 批量发货业务逻辑
2.1.1 需求分析
实现批量发货的业务逻辑

2.1.2 代码实现
(1)OrderController新增方法
/*** 批量发货* @param orders 订单列表*/
@PostMapping("/batchSend")
public Result batchSend( @RequestBody List<Order> orders){orderService.batchSend( orders );return new Result( true,StatusCode.OK,"发货成功" );
}
(2)OrderService新增方法定义
/*** 批量发货* @param orders*/
void batchSend(List<Order> orders);
(3)OrderServiceImpl实现该方法
@Override
@Transactional
public void batchSend(List<Order> orders) {//判断运单号和物流公司是否为空for(Order order :orders){if(order.getId()==null){throw new RuntimeException("订单号为空");}if(order.getShippingCode()==null || order.getShippingName()==null){throw new RuntimeException("请选择快递公司和填写快递单号");}}//循环订单,进行状态校验for(Order order :orders){Order order1 = orderMapper.selectByPrimaryKey( order.getId() );if(!"0".equals( order1.getConsignStatus() ) || !"1".equals( order1.getOrderStatus() ) ){throw new RuntimeException("订单状态有误!");}}//循环订单更新操作for(Order order :orders){order.setOrderStatus("2");//订单状态 已发货order.setConsignStatus("1"); //发货状态 已发货order.setConsignTime(new Date());//发货时间order.setUpdateTime( new Date());//更新时间orderMapper.updateByPrimaryKeySelective(order);//记录订单变动日志OrderLog orderLog=new OrderLog();orderLog.setId( idWorker.nextId()+"" );orderLog.setOperateTime(new Date());//当前日期orderLog.setOperater( "admin" );//系统管理员orderLog.setOrderStatus("2"); //已完成orderLog.setConsignStatus( "1" );//发状态(0未发货 1已发货)orderLog.setOrderId(order.getId());orderLogMapper.insertSelective( orderLog );}
}
2.2 对接第三方物流(了解)
当我们在电商平台购买了商品后,一般会非常关心商品的物流轨迹。那这些信息是如何获取的呢?我们需要对接第三方的物流系统。比较常用的有菜鸟物流、快递鸟等。
我们这里推荐使用快递鸟 http://www.kdniao.com
我们可以使用快递鸟提供的以下接口:
(1)预约取件API
预约取件API为用户提供了在线下单,预约快递员上门揽件的功能,为用户解决在线发货需求。
我们可以在实现批量发货功能后调用预约取件API
(2)即时查询API
物流查询API提供实时查询物流轨迹的服务,用户提供运单号和快递公司,即可查询当前时刻的最新物流轨迹。
用户可以在用户中心调用此API完成物流信息的查询,电商平台也可以调用此API完成运单的跟踪。
3. 确认收货与自动收货
3.1 确认收货
3.1.1 需求分析与实现思路
当物流公司将货物送到了用户收货地址之后,需要用户点击确认收货,当用户点击了确认收货之后,会修改订单状态为已完成
3.1.2 代码实现
(1)OrderController新增方法
/*** 确认收货 * @param orderId 订单号* @param operator 操作者* @return*/
@PutMapping("/take/{orderId}/operator/{operator}")
public Result take(@PathVariable String orderId, @PathVariable String operator){orderService.take( orderId,operator );return new Result( true,StatusCode.OK,"" );
}
(2)OrderService新增方法定义
/*** 确认收货* @param orderId* @param operator*/
void confirmTask(String orderId,String operator);
(3)OrderServiceImpl实现该方法
@Override
public void confirmTask(String orderId, String operator) {Order order = orderMapper.selectByPrimaryKey( orderId );if(order==null){throw new RuntimeException( "订单不存在" );}if( !"1".equals( order.getConsignStatus() )){throw new RuntimeException( "订单未发货" );}order.setConsignStatus("2"); //已送达order.setOrderStatus( "3" );//已完成order.setUpdateTime( new Date() );order.setEndTime( new Date() );//交易结束orderMapper.updateByPrimaryKeySelective( order );//记录订单变动日志OrderLog orderLog=new OrderLog();orderLog.setId( idWorker.nextId()+"" );orderLog.setOperateTime(new Date());//当前日期orderLog.setOperater( operator );//系统?管理员?用户?orderLog.setOrderStatus("3");orderLog.setOrderId(order.getId());orderLogMapper.insertSelective(orderLog);
}
3.2 自动收货处理
3.2.1 需求分析
如果用户在15天(可以在订单配置表中配置)没有确认收货,系统将自动收货。如何实现?我们这里采用定时任务springTask来实现.
3.2.2 Cron表达式
Cron表达式是一个字符串,字符串分为七个部分,每一个域代表一个含义。
Cron表达式7个域格式为: 秒 分 小时 日 月 星期几 年
Cron表达式6个域格式为: 秒 分 小时 日 月 周
| 序号 | 说明 | 是否必填 | 允许填写的值 | 允许的通配符 |
|---|---|---|---|---|
| 1 | 秒 | 是 | 0-59 | , - * / |
| 2 | 分 | 是 | 0-59 | , - * / |
| 3 | 小时 | 是 | 0-23 | , - * / |
| 4 | 日 | 是 | 1-31 | , - * ? / L W |
| 5 | 月 | 是 | 1-12或JAN-DEC | , - * / |
| 6 | 星期几 | 是 | 1-7或SUN-SAT | , - * ? / L W |
| 7 | 年 | 否 | empty 或1970-2099 | , - * / |
使用说明:
通配符说明:
* 表示所有值. 例如:在分的字段上设置 "*",表示每一分钟都会触发。? 表示不指定值。使用的场景为不需要关心当前设置这个字段的值。例如:要在每月的10号触发一个操作,但不关心是周几,所以需要周位置的那个字段设置为"?" 具体设置为 0 0 0 10 * ?- 表示区间。例如 在小时上设置 "10-12",表示 10,11,12点都会触发。, 表示指定多个值,例如在周字段上设置 "MON,WED,FRI" 表示周一,周三和周五触发/ 用于递增触发。如在秒上面设置"5/15" 表示从5秒开始,每增15秒触发(5,20,35,50)。 在月字段上设置'1/3'所示每月1号开始,每隔三天触发一次。L 表示最后的意思。在日字段设置上,表示当月的最后一天(依据当前月份,如果是二月还会依据是否是润年[leap]), 在周字段上表示星期六,相当于"7"或"SAT"。如果在"L"前加上数字,则表示该数据的最后一个。例如在周字段上设置"6L"这样的格式,则表示“本月最后一个星期五"W 表示离指定日期的最近那个工作日(周一至周五). 例如在日字段上设置"15W",表示离每月15号最近的那个工作日触发。如果15号正好是周六,则找最近的周五(14号)触发, 如果15号是周未,则找最近的下周一(16号)触发.如果15号正好在工作日(周一至周五),则就在该天触发。如果指定格式为 "1W",它则表示每月1号往后最近的工作日触发。如果1号正是周六,则将在3号下周一触发。(注,"W"前只能设置具体的数字,不允许区间"-").# 序号(表示每月的第几个周几),例如在周字段上设置"6#3"表示在每月的第三个周六.注意如果指定"#5",正好第五周没有周六,则不会触发该配置(用在母亲节和父亲节再合适不过了) ;
常用表达式
0 0 10,14,16 * * ? 每天上午10点,下午2点,4点
0 0/30 9-17 * * ? 朝九晚五工作时间内每半小时
0 0 12 ? * WED 表示每个星期三中午12点
"0 0 12 * * ?" 每天中午12点触发
"0 15 10 ? * *" 每天上午10:15触发
"0 15 10 * * ?" 每天上午10:15触发
"0 15 10 * * ? *" 每天上午10:15触发
"0 15 10 * * ? 2005" 2005年的每天上午10:15触发
"0 * 14 * * ?" 在每天下午2点到下午2:59期间的每1分钟触发
"0 0/5 14 * * ?" 在每天下午2点到下午2:55期间的每5分钟触发
"0 0/5 14,18 * * ?" 在每天下午2点到2:55期间和下午6点到6:55期间的每5分钟触发
"0 0-5 14 * * ?" 在每天下午2点到下午2:05期间的每1分钟触发
"0 10,44 14 ? 3 WED" 每年三月的星期三的下午2:10和2:44触发
"0 15 10 ? * MON-FRI" 周一至周五的上午10:15触发
"0 15 10 15 * ?" 每月15日上午10:15触发
"0 15 10 L * ?" 每月最后一日的上午10:15触发
"0 15 10 ? * 6L" 每月的最后一个星期五上午10:15触发
"0 15 10 ? * 6L 2002-2005" 2002年至2005年的每月的最后一个星期五上午10:15触发
"0 15 10 ? * 6#3" 每月的第三个星期五上午10:15触发
3.2.3 代码实现
3.2.3.1 发送消息
(1)创建order_tack队列 。
(2)创建工程changgou_task,引入依赖
<dependency><groupId>org.springframework.bootgroupId><artifactId>spring-boot-starterartifactId>
dependency>
<dependency><groupId>org.springframework.amqpgroupId><artifactId>spring-rabbitartifactId>
dependency>
(3)创建配置文件
server:port: 9202
spring:application:name: taskrabbitmq:host: 192.168.200.128
(4)创建启动类
@SpringBootApplication
@EnableScheduling
public class TaskApplication {public static void main(String[] args) {SpringApplication.run( TaskApplication.class,args );}
}
@EnableScheduling 注解用于开启任务调度
(5)创建com.changgou.task包,包下创建类OrderTask
@Component
public class OrderTask {@Autowiredprivate RabbitTemplate rabbitTemplate;/*** 订单自动收货*/@Scheduled(cron = "0 0 0 * * ?")public void autoTake(){System.out.println(new Date( ) );rabbitTemplate.convertAndSend( "","order_tack","-" );}}
3.2.3.2 接收消息
(1)changgou_service_order工程,编写消息监听类
@Componentpublic class OrderTackListener {@Autowiredprivate OrderService orderService;@RabbitListener(queues = "order_tack")public void autoTack(String message){System.out.println("收到自动确认收货消息");orderService.autoTack(); //自动确认收货}
}
(2)OrderService新增方法定义
/*** 自动确认收货*/
void autoTack();
(3)OrderServiceImpl实现此方法
实现思路:
1)从订单配置表中获取订单自动确认期限
2)得到当前日期向前数(订单自动确认期限)天。作为过期时间节点
3)从订单表中获取过期订单(发货时间小于过期时间,且为未确认收货状态)
4)循环批量处理,执行确认收货
@Override
@Transactional
public void autoTack() {//读取订单配置信息OrderConfig orderConfig = orderConfigMapper.selectByPrimaryKey( 1 );//获得时间节点LocalDate now = LocalDate.now();//当前日期//获取过期的时间节点,在这个日期前发货的未收货订单都LocalDate date =now.plusDays( -orderConfig.getTakeTimeout() );System.out.println(date);//按条件查询过期订单Example example=new Example( Order.class );Example.Criteria criteria = example.createCriteria();criteria.andLessThan( "consignTime", date);criteria.andEqualTo( "orderStatus","2" );List<Order> orders = orderMapper.selectByExample( example );for(Order order:orders){System.out.println("过期订单:"+order.getId()+" "+order.getConsignStatus());take(order.getId(),"system" );}
}
本文来自互联网用户投稿,文章观点仅代表作者本人,不代表本站立场,不承担相关法律责任。如若转载,请注明出处。 如若内容造成侵权/违法违规/事实不符,请点击【内容举报】进行投诉反馈!
