bool类型头文件_[C++基础入门] 2、数据类型

点击上方 蓝字 关注我呀!



[C++基础入门] 2、数据类型

文章目录
2 数据类型
2.1 整型
2.2 sizeof关键字
2.3 实型(浮点型)
2.4 字符型
2.5 转义字符
2.6 字符串型
2.7 布尔类型 bool
2.8 数据的输入
2 数据类型
C++规定在创建一个变量或者常量时,必须要指定出相应的数据类型,否则无法给变量分配内存
2.1 整型
作用:整型变量表示的是整数类型的数据
C++中能够表示整型的类型有以下几种方式,区别在于所占内存空间不同:


2.2 sizeof关键字
**作用:**利用sizeof关键字可以统计数据类型所占内存大小
语法: sizeof( 数据类型 / 变量)
示例:
int main() { cout << "short 类型所占内存空间为:" << sizeof(short) << endl; cout << "int 类型所占内存空间为:" << sizeof(int) << endl; cout << "long 类型所占内存空间为:" << sizeof(long) << endl; cout << "long long 类型所占内存空间为:" << sizeof(long long) << endl; system("pause"); return 0;}整型结论:short < int <= long <= long long
2.3 实型(浮点型)
作用:用于表示小数
浮点型变量分为两种:
单精度float
双精度double
两者的区别在于表示的有效数字范围不同。

示例:
int main() { float f1 = 3.14f; double d1 = 3.14; cout << f1 << endl; cout << d1<< endl; cout << "float sizeof = " << sizeof(f1) << endl; cout << "double sizeof = " << sizeof(d1) << endl; //科学计数法 float f2 = 3e2; // 3 * 10 ^ 2 cout << "f2 = " << f2 << endl; float f3 = 3e-2; // 3 * 0.1 ^ 2 cout << "f3 = " << f3 << endl; system("pause"); return 0;}2.4 字符型
**作用:**字符型变量用于显示单个字符
语法:char ch = 'a';
注意1:在显示字符型变量时,用单引号将字符括起来,不要用双引号
注意2:单引号内只能有一个字符,不可以是字符串
C和C++中字符型变量只占用
1个字节。
字符型变量并不是把字符本身放到内存中存储,而是将对应的ASCII编码放入到存储单元
示例:
int main() { char ch = 'a'; cout << ch << endl; cout << sizeof(char) << endl; //ch = "abcde"; //错误,不可以用双引号 //ch = 'abcde'; //错误,单引号内只能引用一个字符 cout << (int)ch << endl; //查看字符a对应的ASCII码 ch = 97; //可以直接用ASCII给字符型变量赋值 cout << ch << endl; system("pause"); return 0;}ASCII码表格:


ASCII 码大致由以下两部分组成:
ASCII 非打印控制字符:ASCII 表上的数字 0-31 分配给了控制字符,用于控制像打印机等一些外围设备。
ASCII 打印字符:数字 32-126 分配给了能在键盘上找到的字符,当查看或打印文档时就会出现。
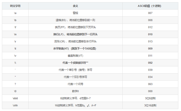
2.5 转义字符
**作用:**用于表示一些不能显示出来的ASCII字符
现阶段我们常用的转义字符有:\n \\ \t

示例:
int main() { cout << "\\" << endl; cout << "\tHello" << endl; cout << "\n" << endl; system("pause"); return 0;}2.6 字符串型
作用:用于表示一串字符
两种风格
C风格字符串:
char 变量名[] = "字符串值"示例:
int main() { char str1[] = "hello world"; cout << str1 << endl; system("pause"); return 0;}注意:C风格的字符串要用双引号括起来
C++风格字符串:string 变量名 = "字符串值"
示例:
int main() { string str = "hello world"; cout << str << endl; system("pause"); return 0;}注意:C++风格字符串,需要加入头文件==#include==
2.7 布尔类型 bool
**作用:**布尔数据类型代表真或假的值
bool类型只有两个值:
true — 真(本质是1)
false — 假(本质是0)
bool类型占1个字节大小
示例:
int main() { bool flag = true; cout << flag << endl; // 1 flag = false; cout << flag << endl; // 0 cout << "size of bool = " << sizeof(bool) << endl; //1 system("pause"); return 0;}2.8 数据的输入
作用:用于从键盘获取数据
**关键字:**cin
语法: cin >> 变量
示例:
int main(){ //整型输入 int a = 0; cout << "请输入整型变量:" << endl; cin >> a; cout << a << endl; //浮点型输入 double d = 0; cout << "请输入浮点型变量:" << endl; cin >> d; cout << d << endl; //字符型输入 char ch = 0; cout << "请输入字符型变量:" << endl; cin >> ch; cout << ch << endl; //字符串型输入 string str; cout << "请输入字符串型变量:" << endl; cin >> str; cout << str << endl; //布尔类型输入 bool flag = true; cout << "请输入布尔型变量:" << endl; cin >> flag; cout << flag << endl; system("pause"); return EXIT_SUCCESS;}

点个赞,证明你还爱我



本文来自互联网用户投稿,文章观点仅代表作者本人,不代表本站立场,不承担相关法律责任。如若转载,请注明出处。 如若内容造成侵权/违法违规/事实不符,请点击【内容举报】进行投诉反馈!
