苹果再加新专利!用雷射传输讯号不再用凸镜头
由于苹果在探索利用光讯号而非电信号实现相机传感器与行动设备内其他组件的通讯,未来iPhone和iPad在设计方面的变化之一,将是机身后背的相机突起会进一步缩小,甚至完全消失。相机凸起一直被认为是iPhone设计的败笔之一,它使得手机无法平放在一个平面上。根据不同机型,相机凸起会使iPhone机身厚度增加数个毫米,破坏手机的颜值。在把相机模块完全塞进苗条的手机机身内部方面,苹果面临诸多问题,但被许多人忽视的一个挑战是干扰的可能性。由于不同零组件间的电子通讯通路必须在空间上彼此有一定的间隔,以避免相互干扰,高密度的组件为电子通讯相互隔离造成了困难。



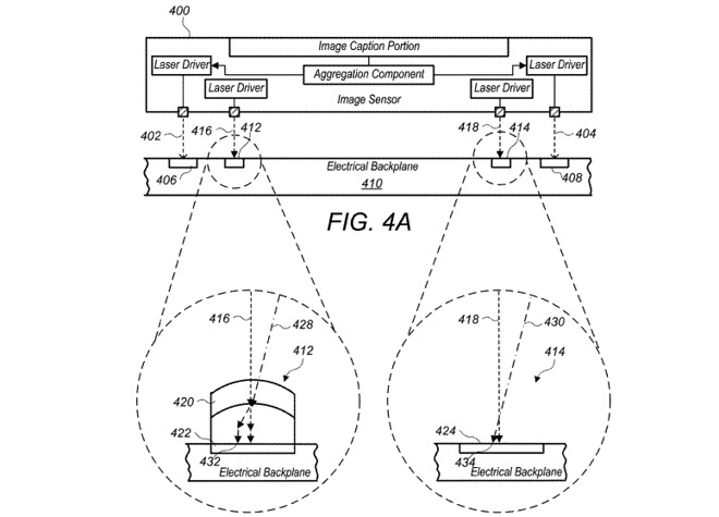
对于采用霍尔效应传感器的相机模块来说,电子讯号数量也是一个问题。霍尔效应传感器用来确定内部组件的位置,例如在光学防手震系统中镜头相对于成像传感器的相对位置。由于这些都要求一个移动的磁场,它们的位置可能位于安装在一个致动器上的磁铁附近,这进一步限制了霍尔效应传感器的位置。美国专利和商标局当地时间星期四披露的一件专利申请文件,表明苹果在探索利用多个光学模块,使成像传感器把数据传输给一个与手机其他硬件相连的专用组件。成像传感器中可以嵌入一个或多个光线发射模块,专用组件中有光线接收传感器。为了实现更高的数据传输速率,多个光线发射模块和接收传感器可以并行工作。
要实现这样的功能,系统可以使用垂直腔面发射激光器(以下简称「VCSEL」),iPhone X之后型号的iPhone原深感镜头的人脸深度映像功能就使用了VCSEL。VCSEL嵌入在一块硅基板中,只要上方留出100微米(0.1毫米)的高度即可实现讯号的传输。虽然这一系统主要用于通讯,但也可以用于确定成像传感器位置的变化。透过检测接收传感器接收到的光线量的变化,利用基于光线的数据传输可以测量成像传感器与专用组件之间相对位置的变化。
测量出来的数据,可以用来驱动与成像传感器相连的致动器,使成像传感器回到原来的位置。实际上,这可以取代由霍尔效应传感器提供的部分功能,也就可以使得相机模块与智能手机其他电路之间的距离更近一些。苹果每周都会申请大量专利,但申请一项专利并不表示与专利相关的技术会出现在其未来的产品中。简而言之,苹果可以利用该项专利申请中的技术缩减相机突起,只是它是否会被应用在未来的产品中还有待观察。原文来源至:http://partner.henkel.com.cn/local/index.php
转载于:https://my.oschina.net/u/3695307/blog/2991669
本文来自互联网用户投稿,文章观点仅代表作者本人,不代表本站立场,不承担相关法律责任。如若转载,请注明出处。 如若内容造成侵权/违法违规/事实不符,请点击【内容举报】进行投诉反馈!
