MAX7219级联显示——2.MAX7219级联原理
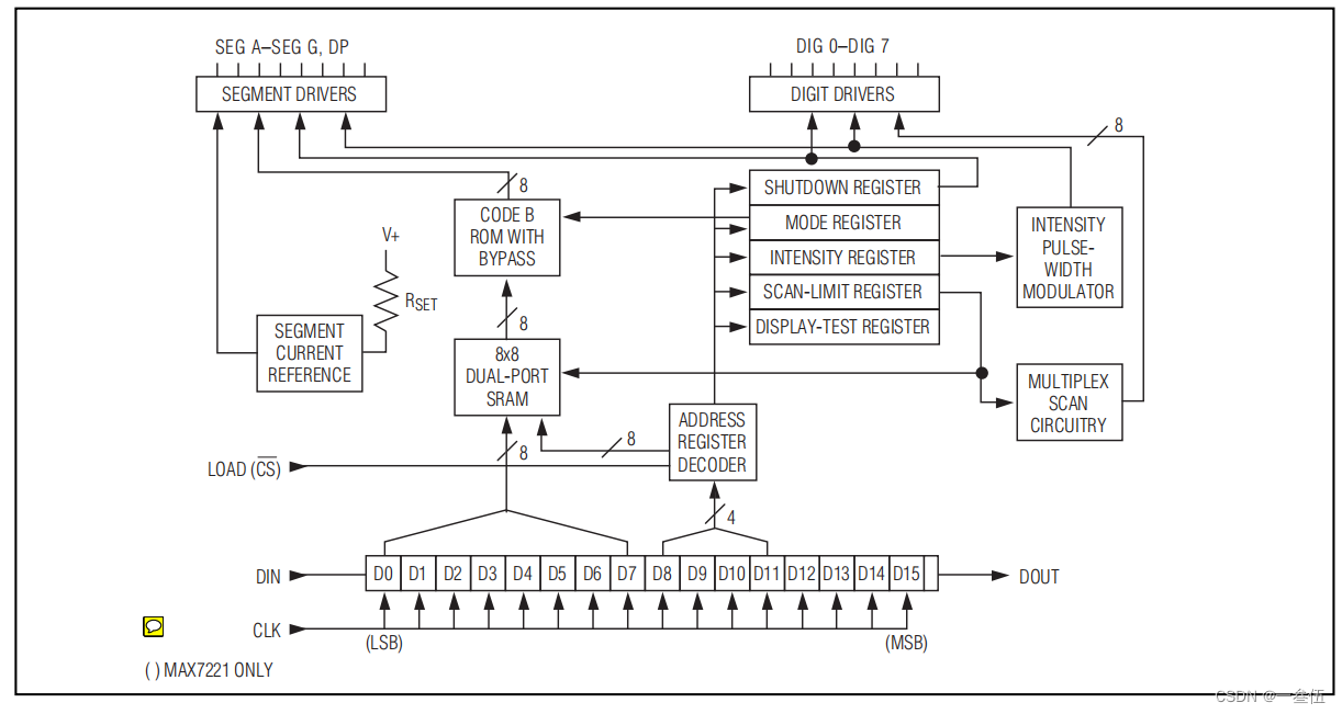
在芯片手册中的功能框图时这样的:

内部的结构暂时不去看,毕竟能用就行,和级联相关的就是移位寄存器,寄存器入口是DIN,出口是DOUT,如下图。

移位寄存器的功能很简单,以上图举例,就是DIN每进来一个数据,就把所有的数据往后推一格。比如D15是第一个被传进来的,那现在整个移位寄存器中的数据,如下图。

之后进来了一个D14,那D15就会被往前推,如下图。

依此类推,当16位数据发完时,移位寄存器就如下图所示。

这样构成了一个完成的数据格式,那级联就是把一颗MAX7219的DOUT接到另一颗芯片的DIN,就构成了两个串联的移位寄存器,如下图所示。

依此类推,那在写命令的时候就需要先写最后一颗芯片的数据,然后通过同步位移慢慢往后推,最后CS(使能)由低到高跳变,把MAX7219移位寄存器中的数据读取到MAX7219芯片内部。
本文来自互联网用户投稿,文章观点仅代表作者本人,不代表本站立场,不承担相关法律责任。如若转载,请注明出处。 如若内容造成侵权/违法违规/事实不符,请点击【内容举报】进行投诉反馈!
