步进电机基础(2.2)- 转子的分类与结构(1.PM型步进电机)
步进电机基础(2.2)- 转子的分类与结构(1.PM型步进电机)
- 前言
- 基本信息
- 公式
- 前言说明
- 转子的分类与结构
- 1. PM型步进电机
- 1 单相PM型步进电机
- 2 两相PM型步进电机
- 3 两相PM型爪极步进电机
- 4 两相 PM型爪极步进电机的旋转原理
- 5 三相 PM型爪极步进电机
前言
基本信息
| 名称 | 描述说明 |
|---|---|
| 教材名称 | 步进电机应用技术 |
| 作者 | 坂本正文 |
| 译者 | 王自强 |
公式
θs = 180° /P*Nr 公式(2. 1)
步进电机的步距角θs,其中Nr 为转子极对数,P为定子相数
前言说明
根据我读的《步进电机应用技术》这本书,进行的学习过程中的知识记录和心得体会的记录。
转子的分类与结构
前一节是根据定子相数进行步进电机的分类,本节根据转子的结构
进行分类。
1. PM型步进电机
PM (Permanent Magnet, 永久磁铁)型转子为内转子型(外部为定子,中间为气隙的电机), 圆柱形转子的外表面分布N、S极(外表面无齿)。
1 单相PM型步进电机
根据步进电机相数分类的单相步进电机如图2. 2~图2. 4所示。有关内容在前节已经说明,此处不再赘述。
2 两相PM型步进电机
以图2. 5所示的两相步进电机为例,定子绕组在圆周上分布排列,最简单的转子极数为2, 即极对数Nr =1。根据式(2, 1) , 令P=2, 则机械角θs = 90°/Nr , 此90°为电气角表示的步距角,电气角除以Nr, 即为机械角。转子极数为2, 即Nr =1, 则电气步距角与机械步距角相等,为90° (θs = 90° /P*Nr) 。
两相PM型电机定子内圆有四个磁极,每个磁极上绕了一个线圈,每两个相差180°的磁极线圈组成一相绕组,PM型步进电机的单极和双极工作方式在图2. 5和图2. 6中均已说明。
下面以单极工作方式为例说明步进电机的旋转原理(如图2. 10所示), 由图2. 10可知,转子步距角为90°, 4步旋转一周(360°) 。图2. 10中在一个磁极上绕了两个线圈,每个线圈的激磁电流只流一个方向的电流,故图2. 10 (a) 中A相线圈为下层线圈,A为上层线圈。步进1状态,给1相下层线圈A相通电,在上磁极产生N极,下磁极产生S极,利用定转子磁极异性相吸,直至平衡位置。

然后1相电流断开,2相线圈B相接通电流,定子磁极左边为S极,右边为N极,吸引转子顺时针旋转90°, 转到步进2状态,如图2. 10 (b) 所示。再次电流切换到1相线圈A相,1相磁极反转,转子顺方向(顺时针方向)旋转。如磁极上为单线圈,则线圈需要流过正反向电流(此为双向驱动,Bipolar) 。
图2. 10中1相有两个线圈,电流单向流过,两个线圈产生的极性相反,给A线圈通电,磁极极性反转成为图2. 10中(c) 所示状态。同样原理,2相线圈依靠电流的方向的变化,使其磁极极性从第2步变成第4步的极性,使转子旋转到图2. 10 (d) 状态,此时,转子由第3步顺时针转过90°到第4步。不断重复进行第1步至第4步,转子就连续旋转。如要逆时针旋转,只要使第2步与第4步的定子极性相反即可。
3 两相PM型爪极步进电机
两相 PM 型爪极步进电机的结构如图2. 11所示,定子相绕组不像前面介绍的电机一样分布在圆周上,而是轴向放置,这种相绕组安装方式称为从属型结构。
转子为圆柱形永久磁铁,其中心安装了输出轴。圆柱形永久磁铁的圆周外表面交替分布着N极和S极,极对数为Nr , N、S极等极距。其转子磁极通过气隙,对着定子磁极。定子磁极依其形状称为爪极(claw pole) , 由导磁钢板冲压成型,形成N, 个爪极。两个定子极板其磁极交互安放,相差1/2极距,共2N, 个与转子磁极数2N, 相对应,形成一相定子。

定子相绕组绕在圆形骨架上,绕制成环状线圈。定子上的两节定子磁路相同,其相邻磁极相差1/4极距,即偏差90°/Nr 。两转子磁极对应一致。
定子为爪极型的步进电机,气隙为0. 2mm (比 HB型步进电机的气隙大3-4倍)。其分辨率与相同尺寸的HB型步进电机相比相差1/4.与相同尺寸的 HB型步进电机相比,其转矩只有1/3.决定步距角的分辨率由式(2. 1) 得知,如P=2, 则θs=90°/N. .若Nr =5-12, 则步距角θs 为1. 8°~7. 5°, 通常使用7. 5°.
图2. 13 所示为PM型步进电机(42*x长度27mm, 步距角7. 5°) 的速度-转矩特性[与尺寸接近的HB型步进电机(39口X长度27mm, 步距角1. 8°) 比较]。因为HB型为方形,其对角线为42mm以上,而且转子为永久磁铁,PM型为便宜的铁氧体磁铁,HB为钕铁硼磁铁,极对数相同,且PM型的气隙比HB型大3倍以上,故转矩差如此之大也是必然。关于最高转速和电气时间常数(线圈电感除以电阻之值)的差异,仅供参考。


此种 PM 型步进电机的最大特点为价格便宜。从成本角度分析如下。
PM型转子通常使用铁氧体磁铁等低成本材料,轴承使用金属滑轴承(Sleeve metal) , 导磁材料使用电工钢板,从材料费方面考虑做到你成本的设计。线圈卷绕在线圈骨架上,可提高绕线效率,节省绕线时间线圈端头采用低价接线端子。与相同尺寸大小的HB型相比,只有其价格的 1/3.使用的数量为HB型的3倍以上,其使用量有逐年增加的趋势。
4 两相 PM型爪极步进电机的旋转原理
两相 PM 型爪极步进电机的旋转原理与图2. 10的两相 PM 型分布线圈步进电机的旋转原理基本相同。但是,由图2. 10可知,一个线圈只能给一个磁极激磁,然而爪极电机的一相线圈可以给多极激磁。图2. 14示出爪极步进电机的旋转原理。实际的两相 PM型爪极步进电机如图2. 11所示,设计的多极N, =12, 此时定子的爪极数每相有12对极。为简化原理便于理解,图2. 14将一相简化成一对极。对比图2. 11和图2. 14,理解容易,简化为一相激磁状态的说明,一相激磁如能驱动转子旋转,两相激磁肯定也能运转。
如图2. 14所示,Stl、St2为定子的两相绕组,各线圈如图所示方向绕制。Rt为转子,采用铁氧体磁铁构成,N、S极分布在转子外表面,与定子极之间形成工作气隙。由图知道,一相线圈激磁一对定子磁极,转子极对数与定子极对数的节距相同,相邻转子的S极与N极必定相互吸引,产生电磁力。该点与后面叙述的 HB型和 RM型不同。
第一步,图2. 14 (a) 为1相线圈激磁图,转子与定子Stl的磁极互相异性相吸。如果此时施加外力,转子会带着负载移动,电磁力会产生图2. 14 (a) 所示位置的恢复力,负载力的大小决定了位置精度。此时,2相定子St2的磁极中心线在转子磁极N、S极的中间位置,2相定子与转子
磁极中心线相差π/2, 此位移角为一个步距角。
第二步,图2. 14 (b) 中,Stl的线圈电流为OFF, St2的线圈电流变成ON, 转子向右移动π/2, 转子被St2吸引而停止。
第三步,图2. 14 © 中,Stl的线圈电流反向通电,定子极性反转,转子再旋转π/2后静止。
第四步,图2. 14 (d) 中,St2 的线圈电流反向通电,定子极性反转,转子再旋转π/2后静止。
再返回图2. 14 (a) , 依次(b) 、 © 、 (d) 反复循环,不断旋转。以上为两相PM型爪极步进电机的运行原理。
根据以上叙述,一个步距角为转子磁极极距的1/2, 走4步为一个循环。步距角由转子的极数来决定,定子的极数对转矩的增加有影响。当然,此型步进电机有单极(uni-polar) 型和双极(Bi-polar) 型,均伴随定子磁极磁化而旋转,反转亦相同。

5 三相 PM型爪极步进电机
本步进电机的三相定子绕组在轴向三重配置,三相Y (三个线圈的末端接在一起,简称屋形)或Δ (三个线圈首尾相接,简称三角形)接出三个出线端,为三相驱动PM型爪极步进电机。

转子R的结构完全与两相步进电机相同。定子每相结构基本上与两相步进电机的相同。与两相步进电机不同的是定子三个相的配置角度不同。图2, 15为三相 PM型爪极步进电机的结构,立体剖面图只表示定子与转子结构。转子R与两相 PM型步进电机相同,其外表面为N、S 极,极对数为N, .如图所示,转子R的极对数的节距为τ。定子由A, B、C相组成,各线陶绕制成DA, DB, DC的环状线圈,以CA、CB、CC在转子轴方向纵向配置,线圈CA 激磁形成 A相的磁极 A, 和Az, CB激磁形成B相的磁极B, 和Bz, CC激磁形成C相的磁极C, 和Cz.此电机转子极对数节距为τ, A1 与A2, B1 与B2, C1 与C2 各相差τ/2, A1 、B1、C1、各相差τ/3, 故相邻相 A2与B1 , B2与C1, 之间相差:τ/6。
此电机的运行原理如图2. 16所示。
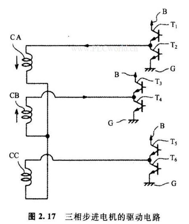
各定子相磁极的符号与图2. 15的结构图相同,两图对照来看。三个线圈CA, CB, CC为Y连接,如用Δ接法也能同样运行。例如,如图2. 16 (a) 所示,A相B相间加电压,两个线圈磁通方向相反如箭头所示,该激磁驱动电路如图2. 17所示。
T1 ~T6为功率管,各相线圈接法如图所示,T1 ~T6的B端为电源端, G端为接地端。




T1~T6导通顺序如表2. 1所示,O表示功率管导通,由此给Y 接法的3个端子中的两个加正负电压。由于三个线圈的尾端短接,必定使两相绕组顺次激磁,即三相绕组两相激磁驱动。图2. 14为两相 PM型步进电机以两相激磁方式驱动,此时两相激磁,转子R的磁极静止在两相定子磁极之间。
表2. 1步骤1为T1 与T4导通,A相与B相激磁。如图2. 16 (a) 所示。A相与B相激磁,箭头方向为两绕组线圈产生的磁通方向,A相与B 相磁极极性如图2. 16所示。由此,转子 R 被吸引到稳定位置(如图2. 16(a) 所示)。
到表2. 1的步骤2, T1, 关断,T5 变成导通,T4与T5导通,B相和C相激磁,如图2. 16 (b) 所示,B相和C相的线圈磁通方向相反。此时,转子R 从图2. 16 (a) 位置向左移动τ/6的稳定位置,τ/6为三相永磁步进电机的步距角,即步距角为转子一对极极距的1/6.与两相永磁步进电机的1/4 相比,分辨率提高1. 5倍。

同样,表2. 1步骤3, T, 关断,T变成导通,C相和A相的线圈导通,转子移动到图2. 16 ( c ) 的稳定位置,转子R又向左移动τ/6.依次切换功率管,使定子绕组依次导通,实现图2. 16 (d) 、 (e) 、 (f) 步骤的激磁,使转子依次步进。六步一个循环,转子移动一对极的极距,如此反复循环。与 PM型爪极步进电机的特点不同,三相PM型与两相PM型的步进电机相同,转子磁场从N极发出,相邻S极返回,与定子线圈交链。
图2. 15中A、B、C (A、B、C等)相差:/3即电气角120°, 各相偏差τ/6, 图2. 16的接线方式还不能达到连续步进的动作,要将B相线圈与其他的A相和C相反接才行,即绕制方向相同的三个线圈,将其中一个反接,并装配成一体,如图2. 15所示。
图2. 18为相同尺寸和同一转子的两相PM型与三相 PM型步进电机的速度-转矩特性。其速度-振动特性如图2. 19所示。转矩特性方面,三相PM型步进电机在高速旅转时转矩较高,振动特性中三相PM型在步进电机低速下比较小,相应的噪音特性与两相PM型电机相比有更大改善、总之,三相PM 型步进电机虽然结构比两相PM型步进电机复杂,但性价比更好。


表2. 2为试验电机参数,即相同尺寸的两相HB型与三相 PM型步进电机的参数。图2. 20 为两种电机的速度-转矩特性,图2. 21为其速度-噪音特性。速度-转矩特性两者相差不多,三相 PM型电机的噪音特性约低
10dB.在分辨率和寿命及其成本都能满足要求时,三相 PM型电机较两相HB型电机振动噪音更低。



本文来自互联网用户投稿,文章观点仅代表作者本人,不代表本站立场,不承担相关法律责任。如若转载,请注明出处。 如若内容造成侵权/违法违规/事实不符,请点击【内容举报】进行投诉反馈!
