卑微小白在路上
今天就写一些Python的基础吧
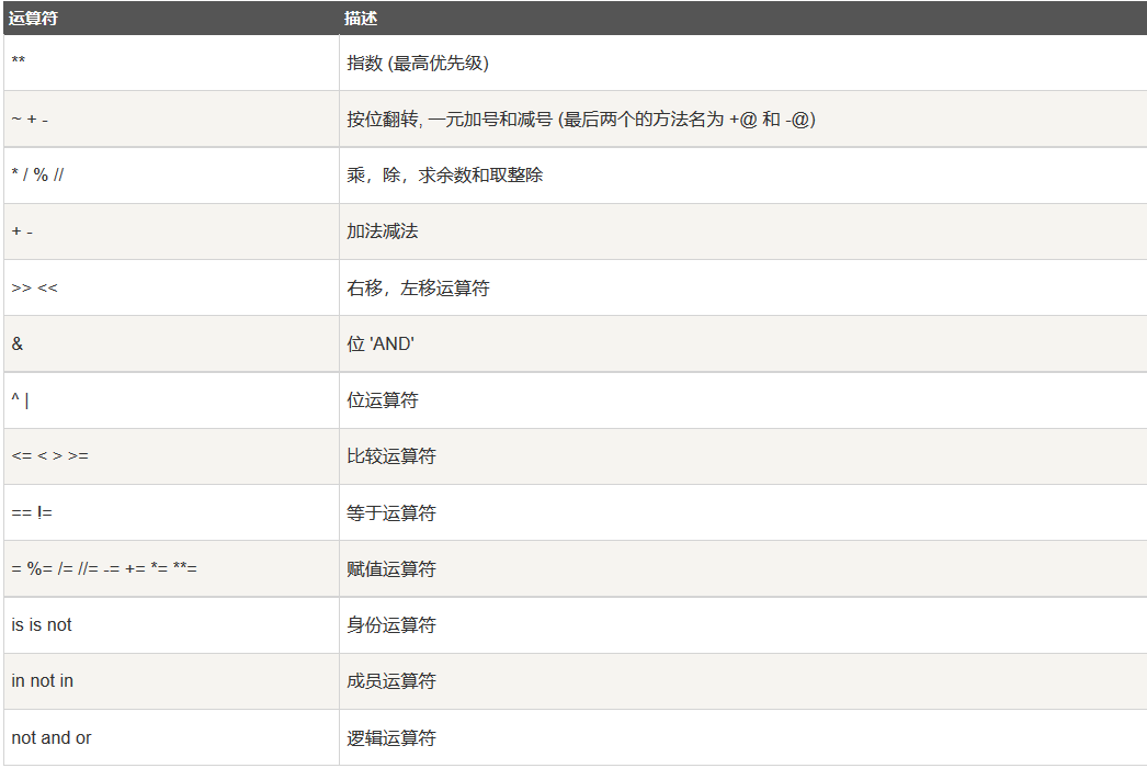
Python的运算符
算术运算符

Python比较运算符

Python赋值运算符

Python位运算符


Python逻辑运算符

Python成员运算符

Python身份运算符

这里注意is与==的区别
(is)是判断地址是否相等
而(双等号)是判断值是否相等
Python运算符优先级

Python的日期和时间
Python 提供了一个 time 和 calendar 模块可以用于格式化日期和时间。
时间间隔是以秒为单位的浮点小数。
每个时间戳都以自从1970年1月1日午夜(历元)经过了多长时间来表示。
什么是时间元组?


获取当前时间


最快获取时间(函数是asctime())


格式化日期


打印某月日历


python中时间日期格式化符号:
%y 两位数的年份表示(00-99)
%Y 四位数的年份表示(000-9999)
%m 月份(01-12)
%d 月内中的一天(0-31)
%H 24小时制小时数(0-23)
%I 12小时制小时数(01-12)
%M 分钟数(00=59)
%S 秒(00-59)
%a 本地简化星期名称
%A 本地完整星期名称
%b 本地简化的月份名称
%B 本地完整的月份名称
%c 本地相应的日期表示和时间表示
%j 年内的一天(001-366)
%p 本地A.M.或P.M.的等价符
%U 一年中的星期数(00-53)星期天为星期的开始
%w 星期(0-6),星期天为星期的开始
%W 一年中的星期数(00-53)星期一为星期的开始
%x 本地相应的日期表示
%X 本地相应的时间表示
%Z 当前时区的名称
%% %号本身
下面是一些函数的简单调用


今天就到这里吧!

本文来自互联网用户投稿,文章观点仅代表作者本人,不代表本站立场,不承担相关法律责任。如若转载,请注明出处。 如若内容造成侵权/违法违规/事实不符,请点击【内容举报】进行投诉反馈!
