SSM 路通网络公司人事管理系统-计算机毕设 附源码66181
路通网络公司人事管理系统的设计与实现
摘 要
科技进步的飞速发展引起人们日常生活的巨大变化,电子信息技术的飞速发展使得电子信息技术的各个领域的应用水平得到普及和应用。信息时代的到来已成为不可阻挡的时尚潮流,人类发展的历史正进入一个新时代。在现实运用中,应用软件的工作规则和开发步骤,采用Java技术建设路通网络公司人事管理系统。
本设计主要实现集人性化、高效率、便捷等优点于一身的路通网络公司人事管理系统,完成首页、系统用户(管理员、普通用户)权限管理(权限列表)模块管理(公司信息、部门信息、部门名称、岗位名称、人事档案、调动记录、离职记录、考勤信息、薪资信息)等功能模块。系统通过浏览器与服务器进行通信,实现数据的交互与变更。本系统通过科学的管理方式、便捷的服务提高了工作效率,减少了数据存储上的错误和遗漏。路通网络公司人事管理系统使用Java语言,采用基于 MVC模式的SSM技术进行开发,使用 MyEclipse 2017 CI 10 编译器编写,数据方面主要采用的是微软的MySQL关系型数据库来作为数据存储媒介,配合前台HTML+CSS 技术完成系统的开发。
关键词:网络公司人事管理;Java语言;关系型数据库;数据存储
Design and Implementation of Personnel Management System for Lutong Network Company
Abstract
The rapid development of science and technology has caused tremendous changes in people's daily lives. The rapid development of electronic information technology has made the application level of electronic information technology in various fields popular and applied. The arrival of the information age has become an irresistible fashion trend, and the history of human development is entering a new era. In practical application, the working rules and development steps of the application software are used to build the personnel management system of Lutong Network Company using Java technology.
This design mainly implements the personnel management system of Lutong Network Company, which integrates the advantages of humanization, efficiency, and convenience. It completes functional modules such as homepage, system user (administrator, ordinary user) authority management (authority list) module management (company information, department information, department name, position name, personnel file, transfer record, resignation record, attendance information, and salary information). The system communicates with the server through a browser to achieve data interaction and change. This system improves work efficiency and reduces errors and omissions in data storage through scientific management methods and convenient services. The personnel management system of Lutong Network Company uses Java language, adopts SSM technology based on MVC mode for development, and uses MyEclipse 2017 CI 10 compiler to write. In terms of data, it mainly uses Microsoft's MySQL relational database as the data storage medium, and cooperates with foreground HTML+CSS technology to complete the system development.
Key words: network company personnel management; Java language; Relational database; data storage
目 录
第1章 绪论
1.1 研究背景与意义
1.2 开发现状
1.3 本文的组织结构
第2章 相关技术介绍
2.1 开发技术说明
2.2 MVC模式
2.3 MySQL数据库
2.4 B/S结构
2.5 SSM框架
2.6 MyEclipse开发工具
第3章 系统分析
3.1 可行性分析
3.1.1 技术可行性分析
3.1.2 经济可行性分析
3.1.3 操作可行性分析
3.2 功能需求分析
3.3 非功能需求分析
3.4 数据流程分析
第4章 系统设计
4.1 系统架构设计
4.2 系统功能结构
4.3 功能模块设计
4.4 数据库设计
4.4.1 概念模型
4.4.2 关系模型
4.4.3 数据表
第5章 系统实现
5.1 登录模块的实现
5.2 用户子系统模块的实现
5.2.1 用户首页模块
5.2.2 员工考勤模块
5.2.3 薪资信息模块
5.3 管理员子系统模块的实现
5.3.1 个人资料管理模块
5.3.2 员工管理模块
5.3.3 离职管理模块
第6章 系统测试
6.1 测试目的
6.2 测试过程
6.3 测试结果
第7章 总结与展望
参考文献
致谢
信息作为生产力最活跃的因素,很早就在人类经济生活中发挥着不可替代的作用,但把信息纳入公司经营管理系统中的高效处理和应用是在计算机发明以后的50年代末。人事管理系统就是把分散的公司单位的职工信息实行统一,集中,规范的收集管理,建立分类编号管理,电脑存储查询以及防火,防潮,防蛀防盗等现代化,专业化的管理系统,为企事业单位和职工解除后顾之忧。网络公司人事管理系统为企事业单位提供信息咨询,信息检索,信息寸取等服务。人事管理系统基本上能够满足现代网络公司人事管理系统使用表格对各种信息分门别类,组成网络公司人事管理系统,可以方便地查询,查阅,修改,交流和重复使用。
公司人事管理是公司管理的一个重要内容,随着时代的进步,公司也逐渐变得庞大起来。如何管理好公司内部员工的信息,成为公司管理中的一个大的问题。在这种情况下,一个可以规范化,自动化的网络公司人事管理系统就显的非常必要。
人事管理系统的革命性变革出现在20世纪90年代末。由于市场竞争的需要,如何吸引和留住人才,激发员工的创造性、工作责任感和工作热情已成为关系公司兴衰的重要因素,人才已经成为公司最重要的资产之一。
目前国内的人事管理系统的开发技术已经非常成熟,主要原因在于人事管理系统本身具有业务清晰、数据处理规范等许多优点,为其信息化提供了必要的优越条件,加上近十年计算机技术的飞跃发展,人事管理系统在国内基本上已经进入了普及应用的阶段。国内目前已有多种通用的人事管理系统软件供应用单位选择使用,而且还有多种人事管理系统开发通用工具供用户开发自己的人事管理系统择用。应该说,人事管理系统的开发与应用在国内已经进入了成熟阶段。
目前国内的人事管理信息系统的特点:面向网络,采用大型、通用性好的数据库机制;坚持标准化、规范化原则,提供灵活构库机制;提供强大的基础信息管理功能,如机构设置、信息录入、人员类别变动、调动人员信息的转移等,为各项人事业务的职能化管理提供有效、准确的基础数据支持;提供灵活、易操作的业务管理功能,实现人事业务职能化管理与基础信息管理的有效结合;提供用于输入的列表、模板组件和用于输出的报表组件,使系统直观,操作性好;为保证人事信息的机密性,提供安全的用户权限管理机制;为更好地实现层与层之问的数据传递,提供点到点、报盘、邮件等多种传输方式,有效地实现指标代码、数据结构、人事与编制信息综合网络管理、模 板、报表表样及数据的发送接收。
在国外,与我国的人事管理信息系统相对应的是人力资源管理系统(HRMS,Human Resources Management System),该系统本身与其相应的计算机信息应用技术均非常成熟。国外几乎所有发达国家均建立了自己的人力资源管理系统,这个系统是全国性的,覆盖了全国的人力资源管理。国外公司的人事部一般均建立了计算机信息系统,负责公司内部的人力资源。国外一些发达国家的企事业单位非常注重自身人力资源管理与决策支持系统的开发应用。尤其是一些跨国公司,更是不惜巨大的投资开发相应的人力资源管理与决策支持系统。人力资源管理与决策支持系统在跨国公司中,既不是一个普通的人事部,也不是一个福利部门,而是围绕提高工作效率而设立的由多种信息、数据和活动形成的一个开放性系统。微软的人事流动管理与决策支持系统就是其中一例。微软于1997年开发了一个由6大模块组成的人事管理与决策支持系统HeadlTrax,用于处理员工的离职、晋升、调动或部门内的变动。该系统使微软任何级别的经理都能够迅速根据外界环境的变化调整部门结构及人事安排;使人力资源部门可以使用这个电子工具进行人力资源管理的趋势分析;采用了数字授权技术,使得经理能够把任何类型的人事申请的批准职责下放给其他人,从而提供了灵活性,又不会使过程复杂化,较好地满足了公司对人力资源管理的要求。
第一章是绪论,本文章的开头部分,对本题目的研究背景和研究意义等一些做文字性的描述。
第二章研究了路通网络公司人事管理系统的所采用的开发技术和开发工具。
第三章是系统分析部分,包括系统总体需求描述、功能性角度分析系统需求、非功能性等各个方面分析系统是否可以实现。
第四章是系统设计部分,本文章的重要部分,提供了系统架构的详细设计和一些主要功能模块的设计说明。
第五章是系统的具体实现,介绍系统的各个模块的具体实现。
第六章在前几章的基础上对系统进行测试和运行。
最后对系统进行了认真的总结,以此对未来有一个新的展望。
本系统前端部分基于MVVM模式进行开发,采用B/S模式,后端部分基于Java的springboot框架进行开发。
前端部分:前端框架采用了比较流行的渐进式JavaScript框架Vue.js。使用Vue-Router和Vuex实现动态路由和全局状态管理,Ajax实现前后端通信,Element UI组件库使页面快速成型,项目前端通过栅格布局实现响应式,可适应PC端、平板端、手机端等不同屏幕大小尺寸的完美布局展示。
后端部分:采用springboot作为开发框架,同时集成MyBatis、Redis等相关技术。
MVC模式是常用的开发模式,主要是在代码实现上将其分为M层、V层和C层。
视图(View)代表用户交互界面,一个 Web 应用就可能有很多的界面,在 MVC 模式中,视图仅仅处理的只有数据采集、处理,还有用户的请求, 并不包括业务流程的处理,业务流程由模型(Model)来处理。
模型(Model)就是业务流程/状态的处理及业务规则的制定。模型处理业务流程的过程其它层是无法看见了的,它就像黑箱子,在接受视图请求的数据之后,然后返回最终的处理结果。MVC 最主要的核心就是业务模型的设计,一个典型的应用例子就是目前流行的 EJB 模型,它从应用技术实现的角度对模型做了进一步的划分,以便充分利用现有的组件,但是它不能作为应用设计模型的框架。
控制器(Controller)可以理解为接收用户的请求,然后视图和模型匹配在一起,一起再完成用户请求。它有非常明显的作用在划分控制层上,可以很清晰地告诉你,它就是一个分发器,选择什么样的模型、视图,可以完成用户的什么样的请求。控制层不做所有的数据处理,比如说:用户点击一个连接,控制层接受到请求之后,并不处理业务信息,它只是向模型传递用户的信息,同时告诉模型做什么,然后选择符合需求的视图返回给用户。
科技的进步,给日常带来许多便利:教室的投影器用到了虚拟成像技术,数码相机用到了光电检测技术,比如超市货物进出库的记录需要一个信息仓库。这个信息仓库就是数据库,而这次的路通网络公司人事管理系统也需要这项技术的支持。
用MySQL这个软件,是因为它能接受多个使用者访问,而且里面存在Archive等。它会先把数据进行分类,然后分别保存在表里,这样的特别操作就会提高数据管理系统自身的速度,让数据库能被灵活运用。MySQL的代码是公开的,而且允许别人二次编译升级。这个特点能够降低使用者的成本,再搭配合适的软件后形成一个良好的网站系统。虽然它有缺点,但是综合各方面来说,它是使用者的主流运用的对象。
B/S(Browser/Server)比前身架构更为省事的架构。它借助Web server完成数据的传递交流。只需要下载浏览器作为客户端,那么工作就达到“瘦身”效果, 不需要考虑不停装软件的问题。
SSM即SpringMVC+Spring+Mybatis,这三个框架有各自最独有的优势,那么将它们组合在一起能够碰撞出很强的火花。设计者在不需消耗大量功夫,能做出Web应用程序,而且这个程序还具有层次清晰、升级更新操作不影响正常使用的、允许多次使用的特点。这个复合框架形成一个有着结构完整、功能强大和结构良好的体系:SpringMVC使各板块分离,Spring使开发更灵活方便,使用Mybatis让开发者直接对对象进行操纵,各层次分工明细,并实现各个层次间的解耦,让代码更加的灵活精简。这个框架使程序员能够规避在开发时期避免个别错误导致整体被破坏,也能在后期应对客户对产品提出的新需求。
MyEclipse是由Genuitec公司开发的,一款功能非常强大的JavaEE的集成开发环境,其中包括有:完备的编码、调试、测试和发布功能[10],完整支持JSP、Spring、CSS、JavaScript、SpringMVC、HTML、JSF、Mybatis、SQL等技术。在体系结构上,MyEclipse的特征可以被分为7类:JavaEE模型;Web开发工具、EJB开发工具、JavaEE项目部署服务、应用程序服务器的而连接器、数据库服务、MyEclipse整合帮助[11]。
对于以上每一种功能的类别,在MyEclipse中都有相应的功能部件,并通过一系列的插件来实现它们。MyEclipse在结构上的这种模块化,可以让它在不影响其他模块的情况下,对其中任意的一个模块进行单独的扩展和升级。强大的MyEclipse应用开发平台也不仅仅只是Eclipse的插件而已,同时更是一款功能强大的,用于JavaEE的集成开发环境[。
本次设计基于B/S 模式下,运用Java、JSP技术采用的是MySQL数据库和Myeclipse实现,总体的可行性共分为以下三个方面。
所谓的技术可行性就是在限定时间,前期拟定的功能能否被满足。在开发设计上是否会遇上解决不了的问题。做完的项目能否被很好地应用,如果存在缺点在后期的维护上是否存在很大的难度。在对这个系统评估后,认定已存在的技术能达成目标。用JSP技术来实现动态的页面,嵌入低依赖性的设计模式,灵活的数据库,配合稳定的服务器,整个系统的运行效率大大提升。由此可见,在技术层面达成目标不是非非之想。
在项目上使用的工具大部分都是是当下流行开源免费的,所以在开发前期,开发时用于项目的经费将会大大降低,不会让开发该软件在项目启动期受到经费的影响,所以经济上还是可行的。尽量用最少的花费去满足用户的需求。省下经费用于人工费,以及设备费用。将在无纸化,高效率的道路上越走越远。
本系统实现功能的操作很简单,普通电脑的常见配置就可以运行本软件,并且只要粗通电脑使用的基本常识就可以流畅的使用本软件。电脑具备连接互联网的能力,并且可以正常访问系统,并不需要操作者有什么高超的能力,只需了解业务流程,并且按照专业知识进行正确操作即可,所以路通网络公司人事管理系统具备操作可行性。
在系统开发设计前,应该对功能做初步设想,清楚这个管理系统有什么板块,每个板块有什么功能,整体的设计是否满足使用者的需求,接着对所开发的系统功能进行的详细分析总结,从而设计出完整的系统并将其实现。用户和开发人员的交流分析,使其达到最佳理解程度,使系统功能达到最佳。
员工用例图如下所示。

图3-1 员工用例图
管理员用例图如下所示。

图3-2 管理员用例图
系统非功能需求有非常多,比如性能需求、可承载最大用户数、稳定性、易用性需求等。本系统分析时考虑到易用性需求,因为系统是给人使用的,所以必须充分从用户的角度出发,考虑用户体验,使系统易理解易上手易操作。
一层数据流程图包括了登录、用户功能和检索维护等模块,在登录模块使用到的数据存储有用户账户文档,用户功能模块需要的存储是用户各功能模块数据文档,检索维护是使用以上这些数据文档通过关键词进行检索。
系统的一层数据流图如下图所示。

图3-2系统数据流图(一层)
二层数据流程是对一层数据流层图中填写登录信息、用户功能的细化。即:填写登录信息细化为填制信息、后台审核,用户功能细化为首页、系统用户(管理员、普通用户)权限管理(权限列表)模块管理(公司信息、部门信息、部门名称、岗位名称、人事档案、调动记录、离职记录、考勤信息、薪资信息)等操作。
系统的二层数据流图如下图所示。

图3-4系统数据流图(二层)
目前B/S体系的系统主要的数据访问方式是:通过浏览器页面用户可以进入系统,系统可以自动对用户向服务器发送的请求进行处理,处理请求是在系统后台中进行的,用户在浏览器页面上进行相应操作,就能够看到服务端传递的处理结果。路通网络公司人事管理系统主要分为视图-模型-控制三层架构设计。在视图层中,主要是操作在服务器端向客户端反馈并显示的数据,在模型层中,主要处理相关的业务逻辑、数据整合等,最后的控制层它介于视图和模型之间,主要是调整两层之间的关系,最终落实数据的传递。
系统架构图如下图所示。

图4-1系统架构图
系统设计的目的是分析系统包括的所有功能结构,为开发人员设计开发和实现系统做好准备工作。经过前期的需求调查、分析和整理之后,确定的总体需求主要包括多个模块,分别是:首页、系统用户(管理员、普通用户)权限管理(权限列表)模块管理(公司信息、部门信息、部门名称、岗位名称、人事档案、调动记录、离职记录、考勤信息、薪资信息)。系统整体角色分为二个部分,一是员工、二是管理员。权限分布也是很明显,员工是在除去浏览信息之外还具有查询和管理自己账户信息、首页、公司信息、部门信息、人事档案、调动记录、离职记录、考勤信息、薪资信息等权限;管理员是最高权限拥有者。
系统功能结构图如下图所示。

图4-2系统功能结构图
员工考勤模块
员工存在考勤关系,关系为一对多,根据员工编号来将员工数据传入到考勤数据中,操作人为员工,然后生成考勤列表,员工查看个人历史考勤列表,可以进行数据销毁。
员工维护模块
操作人来录入员工数据,点击员工录入按钮,依次填写要录入的员工数据,点击提交按钮,将数据提交至数据库,然后刷新员工数据页面,每条数据右边有删除和编辑按钮,来完成相应的删除和更新功能。
薪资信息模块
员工存在薪资关系,关系为一对多,根据员工编号来将员工数据传入到薪资数据中,操作人为员工,然后生成薪资列表,员工查看个人历史薪资列表,可以进行数据销毁。
调动记录模块
操作人来录入调动记录数据,点击调动录入按钮,依次填写要录入的调动数据,点击提交按钮,将数据提交至数据库,然后刷新调动记录数据页面,每条数据右边有删除和编辑按钮,来完成相应的删除和更新功能。
离职维护模块
管理员点击离职管理菜单,点击离职添加子菜单,添加离职数据,填写离职信息成功后,离职数据页面刷新,新数据成功载入页面。
对于一个要开发的系统来说,E-R图可以让别人能更快更轻松的了解此系统的事务及它们之间的关系。根据系统分析阶段所得出的结论确定了在路通网络公司人事管理系统中存在着多个实体分别是用考勤、员工、薪资、调动、离职、人事档案。
系统总体ER图如下图所示。

图4-4系统总体ER图
管理员(管理员id、用户名、密码、权限)
员工(员工id、工号、密码、员工姓名、性别、身份证、电话、部门、照片、职位、入职日期)
离职数据(离职id、应聘岗位、应聘人姓名、性别、联系电话、学历、毕业院校、简历、应聘日期)
考勤(考勤id、工号、员工姓名、部门、考勤日期、考勤状态)
薪资(薪资id、工号、员工姓名、部门、发薪月份、基本薪资、奖金、业绩提成、考勤扣款、五险一金、实发薪资)
数据库逻辑结构就是将E-R图在数据库中用具体的字段进行描述。用字段和数据类型描述来使对象特征实体化,最后形成具有一定逻辑关系的数据库表结构。路通网络公司人事管理系统所需要的部分数据结构表如下表所示。
| 编号 | 名称 | 数据类型 | 长度 | 小数位 | 允许空值 | 主键 | 默认值 | 说明 |
| 1 | token_id | int | 10 | 0 | N | Y | 临时访问牌ID | |
| 2 | token | varchar | 64 | 0 | Y | N | 临时访问牌 | |
| 3 | info | text | 65535 | 0 | Y | N | ||
| 4 | maxage | int | 10 | 0 | N | N | 2 | 最大寿命:默认2小时 |
| 5 | create_time | timestamp | 19 | 0 | N | N | CURRENT_TIMESTAMP | 创建时间: |
| 6 | update_time | timestamp | 19 | 0 | N | N | CURRENT_TIMESTAMP | 更新时间: |
| 7 | user_id | int | 10 | 0 | N | N | 0 | 用户编号: |
表attendance_information (考勤信息)
| 编号 | 名称 | 数据类型 | 长度 | 小数位 | 允许空值 | 主键 | 默认值 | 说明 |
| 1 | attendance_information_id | int | 10 | 0 | N | Y | 考勤信息ID | |
| 2 | user_account | int | 10 | 0 | Y | N | 0 | 用户账号 |
| 3 | employee_name | varchar | 64 | 0 | Y | N | 员工姓名 | |
| 4 | employee_id | varchar | 64 | 0 | Y | N | 员工工号 | |
| 5 | attendance_month | varchar | 64 | 0 | Y | N | 考勤月份 | |
| 6 | attendance_hours | int | 10 | 0 | Y | N | 0 | 考勤时数 |
| 7 | leave_hours | int | 10 | 0 | Y | N | 0 | 请假时数 |
| 8 | hours_of_absenteeism | int | 10 | 0 | Y | N | 0 | 旷工时数 |
| 9 | overtime_hours | int | 10 | 0 | Y | N | 0 | 加班时数 |
| 10 | actual_attendance | varchar | 64 | 0 | Y | N | 实际出勤 | |
| 11 | attendance_notes | text | 65535 | 0 | Y | N | 考勤备注 | |
| 12 | recommend | int | 10 | 0 | N | N | 0 | 智能推荐 |
| 13 | create_time | datetime | 19 | 0 | N | N | CURRENT_TIMESTAMP | 创建时间 |
| 14 | update_time | timestamp | 19 | 0 | N | N | CURRENT_TIMESTAMP | 更新时间 |
| 编号 | 名称 | 数据类型 | 长度 | 小数位 | 允许空值 | 主键 | 默认值 | 说明 |
| 1 | auth_id | int | 10 | 0 | N | Y | 授权ID: | |
| 2 | user_group | varchar | 64 | 0 | Y | N | 用户组: | |
| 3 | mod_name | varchar | 64 | 0 | Y | N | 模块名: | |
| 4 | table_name | varchar | 64 | 0 | Y | N | 表名: | |
| 5 | page_title | varchar | 255 | 0 | Y | N | 页面标题: | |
| 6 | path | varchar | 255 | 0 | Y | N | 路由路径: | |
| 7 | position | varchar | 32 | 0 | Y | N | 位置: | |
| 8 | mode | varchar | 32 | 0 | N | N | _blank | 跳转方式: |
| 9 | add | tinyint | 3 | 0 | N | N | 1 | 是否可增加: |
| 10 | del | tinyint | 3 | 0 | N | N | 1 | 是否可删除: |
| 11 | set | tinyint | 3 | 0 | N | N | 1 | 是否可修改: |
| 12 | get | tinyint | 3 | 0 | N | N | 1 | 是否可查看: |
| 13 | field_add | text | 65535 | 0 | Y | N | 添加字段: | |
| 14 | field_set | text | 65535 | 0 | Y | N | 修改字段: | |
| 15 | field_get | text | 65535 | 0 | Y | N | 查询字段: | |
| 16 | table_nav_name | varchar | 500 | 0 | Y | N | 跨表导航名称: | |
| 17 | table_nav | varchar | 500 | 0 | Y | N | 跨表导航: | |
| 18 | option | text | 65535 | 0 | Y | N | 配置: | |
| 19 | create_time | timestamp | 19 | 0 | N | N | CURRENT_TIMESTAMP | 创建时间: |
| 20 | update_time | timestamp | 19 | 0 | N | N | CURRENT_TIMESTAMP | 更新时间: |
| 编号 | 名称 | 数据类型 | 长度 | 小数位 | 允许空值 | 主键 | 默认值 | 说明 |
| 1 | company_information_id | int | 10 | 0 | N | Y | 公司信息ID | |
| 2 | corporate_name | varchar | 64 | 0 | Y | N | 公司名称 | |
| 3 | company_abbreviation | varchar | 64 | 0 | Y | N | 公司简称 | |
| 4 | company_logo | varchar | 255 | 0 | Y | N | 公司logo | |
| 5 | establishment_time | varchar | 64 | 0 | Y | N | 成立时间 | |
| 6 | company_address | text | 65535 | 0 | Y | N | 公司地址 | |
| 7 | company_profile | text | 65535 | 0 | Y | N | 公司简介 | |
| 8 | remarks | text | 65535 | 0 | Y | N | 备注信息 | |
| 9 | recommend | int | 10 | 0 | N | N | 0 | 智能推荐 |
| 10 | create_time | datetime | 19 | 0 | N | N | CURRENT_TIMESTAMP | 创建时间 |
| 11 | update_time | timestamp | 19 | 0 | N | N | CURRENT_TIMESTAMP | 更新时间 |
表department_information (部门信息)
| 编号 | 名称 | 数据类型 | 长度 | 小数位 | 允许空值 | 主键 | 默认值 | 说明 |
| 1 | department_information_id | int | 10 | 0 | N | Y | 部门信息ID | |
| 2 | department_no | varchar | 64 | 0 | Y | N | 部门编号 | |
| 3 | primary_department | varchar | 64 | 0 | Y | N | 一级部门 | |
| 4 | secondary_department | varchar | 64 | 0 | Y | N | 二级部门 | |
| 5 | department_responsibilities | text | 65535 | 0 | Y | N | 部门职责 | |
| 6 | recommend | int | 10 | 0 | N | N | 0 | 智能推荐 |
| 7 | create_time | datetime | 19 | 0 | N | N | CURRENT_TIMESTAMP | 创建时间 |
| 8 | update_time | timestamp | 19 | 0 | N | N | CURRENT_TIMESTAMP | 更新时间 |
| 编号 | 名称 | 数据类型 | 长度 | 小数位 | 允许空值 | 主键 | 默认值 | 说明 |
| 1 | department_name_id | int | 10 | 0 | N | Y | 部门名称ID | |
| 2 | department_name | varchar | 64 | 0 | Y | N | 部门名称 | |
| 3 | recommend | int | 10 | 0 | N | N | 0 | 智能推荐 |
| 4 | create_time | datetime | 19 | 0 | N | N | CURRENT_TIMESTAMP | 创建时间 |
| 5 | update_time | timestamp | 19 | 0 | N | N | CURRENT_TIMESTAMP | 更新时间 |
| 编号 | 名称 | 数据类型 | 长度 | 小数位 | 允许空值 | 主键 | 默认值 | 说明 |
| 1 | hits_id | int | 10 | 0 | N | Y | 点赞ID: | |
| 2 | user_id | int | 10 | 0 | N | N | 0 | 点赞人: |
| 3 | create_time | timestamp | 19 | 0 | N | N | CURRENT_TIMESTAMP | 创建时间: |
| 4 | update_time | timestamp | 19 | 0 | N | N | CURRENT_TIMESTAMP | 更新时间: |
| 5 | source_table | varchar | 255 | 0 | Y | N | 来源表: | |
| 6 | source_field | varchar | 255 | 0 | Y | N | 来源字段: | |
| 7 | source_id | int | 10 | 0 | N | N | 0 | 来源ID: |
| 编号 | 名称 | 数据类型 | 长度 | 小数位 | 允许空值 | 主键 | 默认值 | 说明 |
| 1 | ordinary_users_id | int | 10 | 0 | N | Y | 普通用户ID | |
| 2 | employee_name | varchar | 64 | 0 | Y | N | 员工姓名 | |
| 3 | employee_id | varchar | 64 | 0 | N | N | 员工工号 | |
| 4 | employee_gender | varchar | 64 | 0 | Y | N | 员工性别 | |
| 5 | examine_state | varchar | 16 | 0 | N | N | 已通过 | 审核状态 |
| 6 | recommend | int | 10 | 0 | N | N | 0 | 智能推荐 |
| 7 | user_id | int | 10 | 0 | N | N | 0 | 用户ID |
| 8 | create_time | datetime | 19 | 0 | N | N | CURRENT_TIMESTAMP | 创建时间 |
| 9 | update_time | timestamp | 19 | 0 | N | N | CURRENT_TIMESTAMP | 更新时间 |
| 编号 | 名称 | 数据类型 | 长度 | 小数位 | 允许空值 | 主键 | 默认值 | 说明 |
| 1 | personnel_files_id | int | 10 | 0 | N | Y | 人事档案ID | |
| 2 | user_account | int | 10 | 0 | Y | N | 0 | 用户账号 |
| 3 | employee_name | varchar | 64 | 0 | Y | N | 员工姓名 | |
| 4 | employee_id | varchar | 64 | 0 | N | N | 员工工号 | |
| 5 | employee_gender | varchar | 64 | 0 | Y | N | 员工性别 | |
| 6 | entry_date | date | 10 | 0 | Y | N | 入职日期 | |
| 7 | identification_number | varchar | 64 | 0 | Y | N | 证件号码 | |
| 8 | primary_department | varchar | 64 | 0 | Y | N | 一级部门 | |
| 9 | secondary_department | varchar | 64 | 0 | Y | N | 二级部门 | |
| 10 | position_name | varchar | 64 | 0 | Y | N | 岗位名称 | |
| 11 | fixed_salary | int | 10 | 0 | Y | N | 0 | 固定薪资 |
| 12 | standard_salary | int | 10 | 0 | Y | N | 0 | 标准薪资 |
| 13 | post_salary | int | 10 | 0 | Y | N | 0 | 岗位薪资 |
| 14 | hourly_wage | int | 10 | 0 | Y | N | 0 | 时薪 |
| 15 | other_remarks | text | 65535 | 0 | Y | N | 其他备注 | |
| 16 | recommend | int | 10 | 0 | N | N | 0 | 智能推荐 |
| 17 | create_time | datetime | 19 | 0 | N | N | CURRENT_TIMESTAMP | 创建时间 |
| 18 | update_time | timestamp | 19 | 0 | N | N | CURRENT_TIMESTAMP | 更新时间 |
| 编号 | 名称 | 数据类型 | 长度 | 小数位 | 允许空值 | 主键 | 默认值 | 说明 |
| 1 | position_name_id | int | 10 | 0 | N | Y | 岗位名称ID | |
| 2 | position_name | varchar | 64 | 0 | Y | N | 岗位名称 | |
| 3 | recommend | int | 10 | 0 | N | N | 0 | 智能推荐 |
| 4 | create_time | datetime | 19 | 0 | N | N | CURRENT_TIMESTAMP | 创建时间 |
| 5 | update_time | timestamp | 19 | 0 | N | N | CURRENT_TIMESTAMP | 更新时间 |
| 编号 | 名称 | 数据类型 | 长度 | 小数位 | 允许空值 | 主键 | 默认值 | 说明 |
| 1 | resignation_record_id | int | 10 | 0 | N | Y | 离职记录ID | |
| 2 | user_account | int | 10 | 0 | Y | N | 0 | 用户账号 |
| 3 | employee_name | varchar | 64 | 0 | Y | N | 员工姓名 | |
| 4 | employee_id | varchar | 64 | 0 | Y | N | 员工工号 | |
| 5 | employee_gender | varchar | 64 | 0 | Y | N | 员工性别 | |
| 6 | entry_date | date | 10 | 0 | Y | N | 入职日期 | |
| 7 | application_date | date | 10 | 0 | Y | N | 申请日期 | |
| 8 | reason_for_resignation | text | 65535 | 0 | Y | N | 离职原因 | |
| 9 | examine_state | varchar | 16 | 0 | N | N | 未审核 | 审核状态 |
| 10 | examine_reply | varchar | 16 | 0 | Y | N | 审核回复 | |
| 11 | recommend | int | 10 | 0 | N | N | 0 | 智能推荐 |
| 12 | create_time | datetime | 19 | 0 | N | N | CURRENT_TIMESTAMP | 创建时间 |
| 13 | update_time | timestamp | 19 | 0 | N | N | CURRENT_TIMESTAMP | 更新时间 |
| 编号 | 名称 | 数据类型 | 长度 | 小数位 | 允许空值 | 主键 | 默认值 | 说明 |
| 1 | salary_information_id | int | 10 | 0 | N | Y | 薪资信息ID | |
| 2 | user_account | int | 10 | 0 | Y | N | 0 | 用户账号 |
| 3 | employee_name | varchar | 64 | 0 | Y | N | 员工姓名 | |
| 4 | employee_id | varchar | 64 | 0 | Y | N | 员工工号 | |
| 5 | fixed_salary | int | 10 | 0 | Y | N | 0 | 固定薪资 |
| 6 | standard_salary | int | 10 | 0 | Y | N | 0 | 标准薪资 |
| 7 | post_salary | int | 10 | 0 | Y | N | 0 | 岗位薪资 |
| 8 | hourly_wage | int | 10 | 0 | Y | N | 0 | 时薪 |
| 9 | salary_month | varchar | 64 | 0 | Y | N | 薪资月份 | |
| 10 | attendance_hours | int | 10 | 0 | Y | N | 0 | 出勤时数 |
| 11 | attendance_deduction | int | 10 | 0 | Y | N | 0 | 考勤扣款 |
| 12 | other_deductions | int | 10 | 0 | Y | N | 0 | 其他扣款 |
| 13 | net_salary | varchar | 64 | 0 | Y | N | 实发薪资 | |
| 14 | salary_remarks | text | 65535 | 0 | Y | N | 薪资备注 | |
| 15 | recommend | int | 10 | 0 | N | N | 0 | 智能推荐 |
| 16 | create_time | datetime | 19 | 0 | N | N | CURRENT_TIMESTAMP | 创建时间 |
| 17 | update_time | timestamp | 19 | 0 | N | N | CURRENT_TIMESTAMP | 更新时间 |
| 编号 | 名称 | 数据类型 | 长度 | 小数位 | 允许空值 | 主键 | 默认值 | 说明 |
| 1 | transfer_record_id | int | 10 | 0 | N | Y | 调动记录ID | |
| 2 | user_account | int | 10 | 0 | Y | N | 0 | 用户账号 |
| 3 | employee_name | varchar | 64 | 0 | Y | N | 员工姓名 | |
| 4 | employee_id | varchar | 64 | 0 | Y | N | 员工工号 | |
| 5 | employee_gender | varchar | 64 | 0 | Y | N | 员工性别 | |
| 6 | department_no | varchar | 64 | 0 | Y | N | 部门编号 | |
| 7 | primary_department | varchar | 64 | 0 | Y | N | 一级部门 | |
| 8 | secondary_department | varchar | 64 | 0 | Y | N | 二级部门 | |
| 9 | application_date | date | 10 | 0 | Y | N | 申请日期 | |
| 10 | original_primary_department | varchar | 64 | 0 | Y | N | 原一级部门 | |
| 11 | original_secondary_department | varchar | 64 | 0 | Y | N | 原二级部门 | |
| 12 | reason_for_application | text | 65535 | 0 | Y | N | 申请原因 | |
| 13 | examine_state | varchar | 16 | 0 | N | N | 未审核 | 审核状态 |
| 14 | examine_reply | varchar | 16 | 0 | Y | N | 审核回复 | |
| 15 | recommend | int | 10 | 0 | N | N | 0 | 智能推荐 |
| 16 | create_time | datetime | 19 | 0 | N | N | CURRENT_TIMESTAMP | 创建时间 |
| 17 | update_time | timestamp | 19 | 0 | N | N | CURRENT_TIMESTAMP | 更新时间 |
| 编号 | 名称 | 数据类型 | 长度 | 小数位 | 允许空值 | 主键 | 默认值 | 说明 |
| 1 | upload_id | int | 10 | 0 | N | Y | 上传ID | |
| 2 | name | varchar | 64 | 0 | Y | N | 文件名 | |
| 3 | path | varchar | 255 | 0 | Y | N | 访问路径 | |
| 4 | file | varchar | 255 | 0 | Y | N | 文件路径 | |
| 5 | display | varchar | 255 | 0 | Y | N | 显示顺序 | |
| 6 | father_id | int | 10 | 0 | Y | N | 0 | 父级ID |
| 7 | dir | varchar | 255 | 0 | Y | N | 文件夹 | |
| 8 | type | varchar | 32 | 0 | Y | N | 文件类型 |
| 编号 | 名称 | 数据类型 | 长度 | 小数位 | 允许空值 | 主键 | 默认值 | 说明 |
| 1 | user_id | mediumint | 8 | 0 | N | Y | 用户ID:[0,8388607]用户获取其他与用户相关的数据 | |
| 2 | state | smallint | 5 | 0 | N | N | 1 | 账户状态:[0,10](1可用|2异常|3已冻结|4已注销) |
| 3 | user_group | varchar | 32 | 0 | Y | N | 所在用户组:[0,32767]决定用户身份和权限 | |
| 4 | login_time | timestamp | 19 | 0 | N | N | CURRENT_TIMESTAMP | 上次登录时间: |
| 5 | phone | varchar | 11 | 0 | Y | N | 手机号码:[0,11]用户的手机号码,用于找回密码时或登录时 | |
| 6 | phone_state | smallint | 5 | 0 | N | N | 0 | 手机认证:[0,1](0未认证|1审核中|2已认证) |
| 7 | username | varchar | 16 | 0 | N | N | 用户名:[0,16]用户登录时所用的账户名称 | |
| 8 | nickname | varchar | 16 | 0 | Y | N | 昵称:[0,16] | |
| 9 | password | varchar | 64 | 0 | N | N | 密码:[0,32]用户登录所需的密码,由6-16位数字或英文组成 | |
| 10 | | varchar | 64 | 0 | Y | N | 邮箱:[0,64]用户的邮箱,用于找回密码时或登录时 | |
| 11 | email_state | smallint | 5 | 0 | N | N | 0 | 邮箱认证:[0,1](0未认证|1审核中|2已认证) |
| 12 | avatar | varchar | 255 | 0 | Y | N | 头像地址:[0,255] | |
| 13 | create_time | timestamp | 19 | 0 | N | N | CURRENT_TIMESTAMP | 创建时间: |
| 编号 | 名称 | 数据类型 | 长度 | 小数位 | 允许空值 | 主键 | 默认值 | 说明 |
| 1 | group_id | mediumint | 8 | 0 | N | Y | 用户组ID:[0,8388607] | |
| 2 | display | smallint | 5 | 0 | N | N | 100 | 显示顺序:[0,1000] |
| 3 | name | varchar | 16 | 0 | N | N | 名称:[0,16] | |
| 4 | description | varchar | 255 | 0 | Y | N | 描述:[0,255]描述该用户组的特点或权限范围 | |
| 5 | source_table | varchar | 255 | 0 | Y | N | 来源表: | |
| 6 | source_field | varchar | 255 | 0 | Y | N | 来源字段: | |
| 7 | source_id | int | 10 | 0 | N | N | 0 | 来源ID: |
| 8 | register | smallint | 5 | 0 | Y | N | 0 | 注册位置: |
| 9 | create_time | timestamp | 19 | 0 | N | N | CURRENT_TIMESTAMP | 创建时间: |
| 10 | update_time | timestamp | 19 | 0 | N | N | CURRENT_TIMESTAMP | 更新时间: |
系统的登录窗口是用户的入口,用户只有在登录成功后才可以进入访问。通过在登录提交表单,后台处理判断是否为合法用户,进行页面跳转,进入系统中去。
登录合法性判断过程:用户输入账号和密码后,系统首先确定输入输入数据合法性,然后在login.jsp页面发送登录请求,调用src下的mainctrl类的dopost方法来验证。
用户登录模块的IPO如下所示:
输入:用户名和密码。
处理:
1)检测用户输入的账号、密码是否正确及在数据库已对应存在。
2)从数据库中提取记录,并储存在本地的session中(timeout默认=30min)。
3)根据用户名,将其显示在系统首页上。
输出:是否成功的信息。
登录流程图如下所示。

图5-1登录流程图
系统登录界面如下所示。

图5-2系统登录界面
用户登录的逻辑代码如下。
* 登录
* @param data
* @param httpServletRequest
* @return
*/
@PostMapping("login")
public Map
log.info("[执行登录接口]");
String username = data.get("username");
String email = data.get("email");
String phone = data.get("phone");
String password = data.get("password");
List resultList = null;
QueryWrapper wrapper = new QueryWrapper
Map
if(username != null && "".equals(username) == false){
map.put("username", username);
resultList = service.selectBaseList(service.select(map, new HashMap<>()));
}
else if(email != null && "".equals(email) == false){
map.put("email", email);
resultList = service.selectBaseList(service.select(map, new HashMap<>()));
}
else if(phone != null && "".equals(phone) == false){
map.put("phone", phone);
resultList = service.selectBaseList(service.select(map, new HashMap<>()));
}else{
return error(30000, "账号或密码不能为空");
}
if (resultList == null || password == null) {
return error(30000, "账号或密码不能为空");
}
//判断是否有这个用户
if (resultList.size()<=0){
return error(30000,"用户不存在");
}
User byUsername = (User) resultList.get(0);
Map
groupMap.put("name",byUsername.getUserGroup());
List groupList = userGroupService.selectBaseList(userGroupService.select(groupMap, new HashMap<>()));
if (groupList.size()<1){
return error(30000,"用户组不存在");
}
UserGroup userGroup = (UserGroup) groupList.get(0);
//查询用户审核状态
if (!StringUtils.isEmpty(userGroup.getSourceTable())){
String res = service.selectExamineState(userGroup.getSourceTable(),byUsername.getUserId());
if (res==null){
return error(30000,"用户不存在");
}
if (!res.equals("已通过")){
return error(30000,"该用户审核未通过");
}
}
//查询用户状态
if (byUsername.getState()!=1){
return error(30000,"用户非可用状态,不能登录");
}
String md5password = service.encryption(password);
if (byUsername.getPassword().equals(md5password)) {
// 存储Token到数据库
AccessToken accessToken = new AccessToken();
accessToken.setToken(UUID.randomUUID().toString().replaceAll("-", ""));
accessToken.setUser_id(byUsername.getUserId());
tokenService.save(accessToken);
// 返回用户信息
JSONObject user = JSONObject.parseObject(JSONObject.toJSONString(byUsername));
user.put("token", accessToken.getToken());
JSONObject ret = new JSONObject();
ret.put("obj",user);
return success(ret);
} else {
return error(30000, "账号或密码不正确");
}
}
public String select(Map
StringBuffer sql = new StringBuffer("select ");
sql.append(config.get(FindConfig.FIELD) == null || "".equals(config.get(FindConfig.FIELD)) ? "*" : config.get(FindConfig.FIELD)).append(" ");
sql.append("from ").append("`").append(table).append("`").append(toWhereSql(query, "0".equals(config.get(FindConfig.LIKE))));
if (config.get(FindConfig.GROUP_BY) != null && !"".equals(config.get(FindConfig.GROUP_BY))){
sql.append("group by ").append(config.get(FindConfig.GROUP_BY)).append(" ");
}
if (config.get(FindConfig.ORDER_BY) != null && !"".equals(config.get(FindConfig.ORDER_BY))){
sql.append("order by ").append(config.get(FindConfig.ORDER_BY)).append(" ");
}
if (config.get(FindConfig.PAGE) != null && !"".equals(config.get(FindConfig.PAGE))){
int page = config.get(FindConfig.PAGE) != null && !"".equals(config.get(FindConfig.PAGE)) ? Integer.parseInt(config.get(FindConfig.PAGE)) : 1;
int limit = config.get(FindConfig.SIZE) != null && !"".equals(config.get(FindConfig.SIZE)) ? Integer.parseInt(config.get(FindConfig.SIZE)) : 10;
sql.append(" limit ").append( (page-1)*limit ).append(" , ").append(limit);
}
log.info("[{}] - 查询操作,sql: {}",table,sql);
return sql.toString();
}
public List selectBaseList(String select) {
List
List
for (Map
list.add(JSON.parseObject(JSON.toJSONString(map),eClass));
}
return list;
}
系统呈现出一种简洁大方的首页:界面简约、鳞次栉比,用户能轻车熟路的使用。出于对系统使用群体广泛的顾虑,应有良好性能的后台。
如下图所示为系统的首页界面。

图5-3系统首页界面
其中载入前台页面的主要代码如下。
@RequestMapping(value = "/del")
@Transactional
public Map
service.delete(service.readQuery(request), service.readConfig(request));
return success(1);
}
员工考勤过程中,首先使用getmap(id,"xinxi"),通过员工ID得到员工数据,将员工数据赋值给员工考勤,调用CommDAO的insert方法将考勤数据插入考勤表中,最后查看个人历史员工考勤记录,可以销毁历史考勤数据。
员工考勤流程图如下所示。

图5-4员工考勤流程图
员工考勤界面如图所示。

图5-5员工考勤界面
考勤管理界面如图所示。

图5-6考勤管理界面
员工考勤关键代码如下所示。
@Transactional
public Map
service.update(service.readQuery(request), service.readConfig(request), service.readBody(request.getReader()));
return success(1);
}
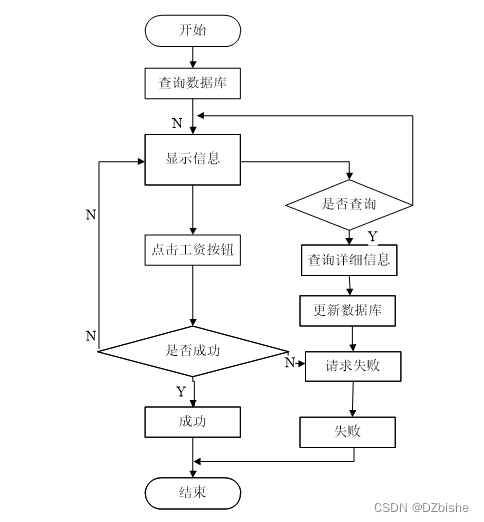
薪资信息过程中,首先使用getmap(id,"xinxi"),通过员工ID得到员工数据,将员工数据赋值给薪资信息,调用CommDAO的insert方法将薪资数据插入薪资表中,最后查看个人历史薪资信息记录,可以销毁历史薪资数据。
薪资信息流程图如下所示。

图5-7薪资信息流程图
薪资信息界面如图所示。

图5-8薪资信息界面
薪资信息关键代码如下所示。
public Map
List resultList = service.selectBaseList(service.select(service.readQuery(request), service.readConfig(request)));
if (resultList.size() > 0) {
JSONObject jsonObject = new JSONObject();
jsonObject.put("obj",resultList.get(0));
return success(jsonObject);
} else {
return success(null);
}
}
用户点击登录填写账号信息登录后,会切换内容为“某某用户欢迎您”和历史订单,并给出注销链接。当用户登录成功后会将个人信息保存在session作用域中,点击自己的用户名时,会跳转到个人详细信息页面,由后台通过Freemarker取出session作用域中的用户信息进行动态渲染,例如,邮箱、电话号码、用户名等等。同时页面上会显示修改个人信息和修改密码的按钮,这时客户可以修改自己的登录密码以保障账号的安全性,防止被人窃取账号,通过UserController.java的updatePassword()实现,同时也可以根据自己的个人信息是否变动做出相应的修改,通过updateUserInfo()实现。
密码修改流程图如下所示。

图5-9密码修改流程图
密码修改关键代码如下所示。
public Map
Map
map.put("error", new HashMap
put("code", code);
put("message", message);
}});
return map;
}
添加员工信息时,输入必填字段后,表现层的YuangongController接受传过来的员工信息参数,再调用YuangongController类的addYuangong方法,经过YuangongService业务层到YuangongMapper持久层的处理,完成对整个添加员工信息的操作。addYuangong方法也和用户管理中的addUser方法类似,同时做添加和修改工作。
修改员工信息时,选择需要修改的员工进行修改,调用YuangongController控制器的editYuangong方法,拿到该员工原本的信息并显示到页面,管理员再对需要修改的员工信息字段进行修改,完成后调用addYuangong方法,调用业务层的updateByKey方法,更新数据库的员工信息表的数据。
员工管理流程图如下所示。

图5-10员工管理流程图
员工添加界面如下图所示。

图5-11员工添加界面
员工查询界面如下图所示。

图5-12员工查询界面
员工信息添加关键代码如下所示。
public Map
List resultList = service.selectBaseList(service.select(service.readQuery(request), service.readConfig(request)));
if (resultList.size() > 0) {
JSONObject jsonObject = new JSONObject();
jsonObject.put("obj",resultList.get(0));
return success(jsonObject);
} else {
return success(null);
}
}
删除离职时,选择需要删除的离职进行删除,把主键的uId传到LizhiController控制器,再调用控制器的deleteLizhi方法,数据经过LizhiService业务层解析和处理,请求LizhiMapper持久层调用deleteByPrimaryKey方法操作数据库将离职数据从数据库中删除。
查找离职时,输入需要查找的离职名,调用getData方法获取所有数据并且进行分页,把获取到的所有数据显示到视图上,这时候只需要用脚本方法便能快速查找,不涉及对数据库操作。
离职管理流程图如下所示。

图5-13离职管理流程图
离职添加界面如下图所示。

图5-14离职添加界面
离职查询界面如下图所示。

图5-15离职查询界面
离职信息添加关键代码如下所示。
@RequestMapping(value = "/del")
@Transactional
public Map
service.delete(service.readQuery(request), service.readConfig(request));
return success(1);
}
在对该系统进行完详细设计和编码之后,就要对路通网络公司人事管理系统的程序进行测试,检测程序是否运行无误,反复进行测试和修改,使之最后成为完整的软件,满足用户的需求,实现预期的功能。
在软件的测试过程中,通常测试人员需要针对不同的功能模块设计多种测试用例。通过测试用例能够及时发现代码业务逻辑上是否与真实的业务逻辑相对应,及时发现代码上或逻辑上的缺陷,以此来来完善系统,提高软件产品的质量,使软件具有良好的用户体验。
登录测试用例表如下所示。
表6-1登录测试用例
| 测试性能 | 用户或操作员登录系统 | ||
| 用例目的 | 测试用户或操作员登录系统时功能是否正常 | ||
| 前提条件 | 进入用户登录页面或操作员登录页面 | ||
| 输入条件 | 预期输出 | 实际情况 | |
| 各项信息不予填写,直接点击登陆按钮 | 不允许登录,提示填写账号相关信息 | 一致 | |
| 填写错误的登录名或密码后点击登录系统 | 提示用户名或密码错误,要求重新填写进行登录 | 一致 | |
| 填写与验证码信息不一致的信息 | 系统显示出提示信息,表明验证码错误,要求重新填写 | 一致 | |
员工考勤测试用例表如下所示。
表6-2员工考勤测试用例
| 测试性能 | 用户进行员工考勤的操作 | ||
| 用例目的 | 测试用户进行员工考勤操作时,该功能是否正常 | ||
| 前提条件 | 用户进入员工详情页,该员工能够被考勤 | ||
| 输入条件 | 预期输出 | 实际情况 | |
| 对着某员工点击“考勤”按钮 | 界面跳转至考勤界面 | 一致 | |
| 在考勤界面,输入必填项,点击“提交”按钮 | 提示“考勤成功”,并返回上一级界面 | 一致 | |
| 在考勤界面,填写考勤表单的时候未输入完整,点击“提交”按钮 | 提示“考勤失败” | 一致 | |
员工管理测试用例表如下所示。
表6-3员工管理测试用例
| 测试性能 | 员工相关信息管理功能 | ||
| 用例目的 | 测试系统操作者对员工相关信息进行管理的功能是否正常 | ||
| 前提条件 | 登录系统进入相关管理页面 | ||
| 输入条件 | 预期输出 | 实际情况 | |
| 进入员工管理界面,点击“录入”按钮,填写所有必填项,点击提交 | 提示“录入成功”,并返回查询界面 | 一致 | |
| 进入员工管理界面,点击“录入”按钮,未填写一个或者多个必填项,点击提交 | 提示“录入失败”,请填写必填项 | 一致 | |
| 进入员工管理界面,选择要修改的一条数据,点击该条数据后面的“修改”按钮 | 节目跳转至修改界面 | 一致 | |
| 在修改界面,修改可修改项后,点击“提交”按钮 | 提示“修改成功”,并返回查询界面 | 一致 | |
| 进入员工管理界面,点击某条数据后面的删除按钮 | 提示“是否要删除该数据”,如果用户点击“确定”按钮,则成功删除该条数据,并提示“删除成功”,之后返回查询界面 | 一致 | |
经过对此系统的测试,得出该系统足以满足用户日常需求,在功能项目和操作等方面也能满足操作员对于其他用户的管理。但是,还有很多功能有待添加,这个系统仅能满足大部分的需求,还需要对此系统的功能更进一步的完善,这样使用起来才能更加的完美。
通过路通网络公司人事管理系统的开发,本人巩固了之前学过的知识,如今将平时所学到的知识融合在设计中,在设计过程中,做了很多的准备,首先,在数据库系统的设计过程中,尤其是在数据库的工作原理、工作特点,对其深刻的讨论,与此同时,对于小型站点来说,最好服务器的选择,其次,利用所学的知识点分析所做的系统,并在此基础上设计。
目前本系统已经上线,正在试运行阶段,用户反馈良好,基本完成用户所需,试运行过程中没有出现阻断性问题,有一些不足和小问题也及时予以修正,系统上线后,为了保证数据的安全性,对系统进行了备份操作,系统备份是每两个月备份一次,数据库备份为每周备份一次,系统部署在租赁的云平台服务器中。
本次系统上线成功后,得到了用户的高度认可,但是在功能上和性能上还需做进一步的研究处理,使其有更高的性能和更好的用户体验。
系统在以后的升级过程中,需要解决一系列用户所提出的问题,例如打印过程中如何避免浏览器的兼容性问题,大量用户访问时,如何保持较高的响应速度,在系统今后的升级过程中将着重解决这些安全性问题。
参考文献
[1]徐佩.新时期计算机软件开发技术的应用及发展趋势[J].农家参谋,2019(08):167.
[2]张帅,崔婀娜,魏立波.互联网+健康在线服务平台的设计与实现[J].科技创新与应用,2019(10):91-92.
[3]谷利国,陈存田,张甲瑞.基于B/S模式的人事教育信息管理系统的分析与设计[J].电脑知识与技术,2019,15(10):58-59.
[4]胥新政,强毅.基于JSP的常用金属材料标准检索平台开发设计[J].制造业自动化,2019,41(03):41-43+69.
[5]王祖维,南淮耀,张英.“互联网+”视域下的高校学生公寓管理系统设计与实现——以沈阳师范大学为例[J].现代商贸工业,2019,40(08):187-188.
[6]廖明华,齐攀.学生职业能力测评管理系统的设计与实现[J].广东交通职业技术学院学报,2019,18(01):48-52.
[7]李冬冬,刘华明,毕学慧,王秀友.旧衣申领系统的设计与实现[J].电脑知识与技术,2019,15(08):47-50.
[8]李庆年.“互联网+”视域下的人才离职管理系统设计与实现[J].国际公关,2019(03):164-165.
[9]刘婷,彭焕峰,邵淑婷.基于云平台的高校监考管理系统[J].电脑知识与技术,2019,15(07):91-92.
[10]赵丙秀.基于百度AI平台的Web人脸注册和登录系统的实现[J].电脑知识与技术,2019,15(07):114-115.
[11]戴昭颖,尹涛.钢铁行业成本预算系统开发应用实践[J].电子技术与软件工程,2019(04):29-30.
[12]曹灿,刘志刚.基于SSH和Layui的工程科学前沿与实践系统[J].工业控制计算机,2019,32(02):91-92+96.
[13]谢路.基于Web的考务管理系统设计与实现[J].福建电脑,2019,35(01):136-137.
[14]张继东.MySQL数据库基于JSP的访问技术[J/OL].电子技术与软件工程,2017,(15):169(2017-08-03).
[15]韩思凡.Web开发中的JSP与HTML的基础应用[J].科学技术创新,2020(14):71-72.
[16]NastitiAndini,DaehaKim,JongAhnChun.Operationalsoilmoisturemodelingusingamulti-stageapproachbasedonthegeneralizedcomplementaryprinciple[J].AgriculturalWaterManagement,2020,231.
[17]A.D.Titisari,D.Phillips,I.W.Warmada,Hartono,A.Idrus.40Ar/39ArgeochronologyofthePongkorlowsulfidationepithermalgoldmineralisation,WestJava,Indonesia[J].OreGeologyReviews,2020,119.
[18]FranciscoOrtin,OscarRodriguez-Prieto,NicolasPascual,MiguelGarcia.HeterogeneoustreestructureclassificationtolabelJavaprogrammersaccordingtotheirexpertiselevel[J].FutureGenerationComputerSystems,2020,105.
[19]SatyaKrismatama,IndahRiyantini,IwangGumilar,LantunParadhitaDewanti.SelectivityofFishingGearforScomberomorusguttatus(Bloch&Schneider,1801)CommoditiesinPangandaranFishingGround,WestJava[J].AsianJournalofFisheriesandAquaticResearch,2020.
[20]ZhongXiangfu,PlaAlbert,RaynerSimon.Jasmine:aJavapipelineforisomiRcharacterizationinmiRNA-Seqdata[J].Bioinformatics,2020,36(6).
致谢
伴随着设计的完成,大学生涯也随之即将结束。大学期间是我最珍惜的时光,大学时光中学会了很多,也成长了很多,这段时光中每一段回忆都刻在脑海中。感谢一起学习,一起成长同学们,和成长过程悉心教导的老师们,非常感激有你们的陪伴。
首先感谢我的指导老师,设计的完成离不开老师的一系列指导。在毕业设计的完成过程中,老师给出了很多中肯的建议,正是由于老师一丝不苟的工作态度,我的设计才能顺利的完成。
最后,感谢在大学生涯中每一位教导我的老师,是你们教给了我丰富的知识,更教会了我遇到问题时,如何去应对并解决。谢谢你们的帮助与支持。
请关注点赞+私信博主,免费领取项目源码
本文来自互联网用户投稿,文章观点仅代表作者本人,不代表本站立场,不承担相关法律责任。如若转载,请注明出处。 如若内容造成侵权/违法违规/事实不符,请点击【内容举报】进行投诉反馈!
