03.金融业务领域业务模型
03.互联网_业务分析概述
- 目录
- 概 述
- 小结
- 参考资料和推荐阅读
LD is tigger forever,CG are not brothers forever, throw the pot and shine forever.
Modesty is not false, solid is not naive, treacherous but not deceitful, stay with good people, and stay away from poor people.
talk is cheap, show others the code and KPI, Keep progress,make a better result.
Survive during the day and develop at night。
目录
概 述
金融领域领域常见的特点:
1.用户量适中
2.事物要求性高
3.流程规范要求姓高
特色场景:
1.存取款
2.管理等
3.数据分析报表等
总体来说:存取款是银行的主要特色。技术含量也在其中。只不过做大之后,有些部分独立出来了。
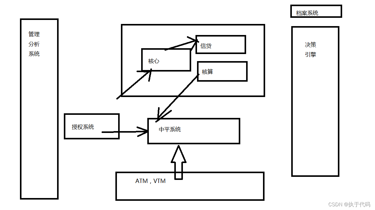
项目实践:
1.cosp 中间业务平台
2.civs 身份核查
3.授权系统
4.信贷系统
5.决策引擎系统
6.开放银行系统和ESB服务治理系统
面试view:
中国光大银行view,太仓农商行等
其他都是OMP,非核心部分
我们把这些系统整理起来对应的就是:

小结
参考资料和推荐阅读
1.链接: [https://www.jianshu.com/p/972613558ba1).
本文来自互联网用户投稿,文章观点仅代表作者本人,不代表本站立场,不承担相关法律责任。如若转载,请注明出处。 如若内容造成侵权/违法违规/事实不符,请点击【内容举报】进行投诉反馈!
