stm32f1串口发送与接收
目录
串口配置
串口发送
1使用SendString函数发送
2使用printf函数发送
串口接收
串口配置
首先对串口进行初始化
包括使能串口时钟,这里我使用的是usart2,使能GPIO时钟,这里我用的是A口,以及GPIO口的配置,这里我的串口输出是PA2,输入是PA3
然后初始化usart2,再使能usart2,具体代码如下:
/* 串口初始化 */void STM_EVAL_COMInit(USART_InitTypeDef* USART_InitStruct)
{GPIO_InitTypeDef GPIO_InitStructure;/* Enable GPIO clock */RCC_APB2PeriphClockCmd(RCC_APB2Periph_GPIOA, ENABLE);//GPIOA使能RCC_APB1PeriphClockCmd(RCC_APB1Periph_USART2, ENABLE);USART2时钟使能/* Configure USART Tx as alternate function push-pull */GPIO_InitStructure.GPIO_Mode = GPIO_Mode_AF_PP;//输出PA2GPIO_InitStructure.GPIO_Pin = GPIO_Pin_2;GPIO_InitStructure.GPIO_Speed = GPIO_Speed_50MHz;GPIO_Init(GPIOA, &GPIO_InitStructure);/* Configure USART Rx as input floating */GPIO_InitStructure.GPIO_Mode = GPIO_Mode_IN_FLOATING;//输入PA3GPIO_InitStructure.GPIO_Pin = GPIO_Pin_3;GPIO_Init(GPIOA, &GPIO_InitStructure);/* USART configuration */USART_Init(USART2, USART_InitStruct);//USART2初始化/* Enable USART */USART_Cmd(USART2, ENABLE);//使能USART2
}
之后需要配置串口的参数
参数包括波特率,数据位个数,是否有校验位等
void USART2_Init (void)
{USART_InitTypeDef USART_InitStructure;NVIC_InitTypeDef NVIC_InitStructure; USART_InitStructure.USART_BaudRate = 115200; //波特率USART_InitStructure.USART_WordLength = USART_WordLength_8b; //数据位个数=8USART_InitStructure.USART_StopBits = USART_StopBits_1; //1个停止位USART_InitStructure.USART_Parity = USART_Parity_No; //没有校验位USART_InitStructure.USART_HardwareFlowControl = USART_HardwareFlowControl_None;USART_InitStructure.USART_Mode = USART_Mode_Rx | USART_Mode_Tx;STM_EVAL_COMInit(&USART_InitStructure);//数据接收的使能中断/* Enable the USARTz Interrupt */NVIC_InitStructure.NVIC_IRQChannel = USART2_IRQn;//为USART2NVIC_InitStructure.NVIC_IRQChannelPreemptionPriority = 0;NVIC_InitStructure.NVIC_IRQChannelSubPriority = 0;NVIC_InitStructure.NVIC_IRQChannelCmd = ENABLE;NVIC_Init(&NVIC_InitStructure);/* Enable the USARTz Receive Interrupt */USART_ITConfig(USART2, USART_IT_RXNE, ENABLE);//
}
为了保证串口随时都能接收数据,需要开启中断
串口发送
串口发送是指,将stm32的数据发送给上位机(串口助手)
1使用SendString函数发送
在.c文件里面定义SendString函数
对应USART数据发送有两个标志, 一个是TXE=发送数据寄存器空,另一个是TC=发送结束
void SendString (char *s)
{while(*s){USART_SendData(USART2, *s++);//依次发送/* Loop until the end of transmission */while (USART_GetFlagStatus(USART2, USART_FLAG_TC) == RESET)//TC标志位为reset发送结束{}}
}
在发送数据时出现第一个字符打印不出来的情况,例如发送“hello”,串口助手只接收到了“ello”,没有h
这是因为stm32的usart的sr寄存器的TC初始为1,导致第一次while时第一个数据被覆盖
这种情况,将TC修改为TXE即可
void SendString (char *s)
{while(*s){USART_SendData(USART2, *s++);/* Loop until the end of transmission */while (USART_GetFlagStatus(USART2, USART_FLAG_TXE) == RESET){}}
}
在main.c文件里面调用SendString函数
USART2_Init();//打开串口
SendString("字符串");
2使用printf函数发送
在使用printf函数之前需要先勾选微库

在.c文件里面定义printf函数 ,代码如下
int fputc(int ch, FILE *f)
{/* Place your implementation of fputc here *//* e.g. write a character to the USART */USART_SendData(USART2, (uint8_t) ch);/* Loop until the end of transmission */while (USART_GetFlagStatus(USART2, USART_FLAG_TXE) == RESET){}return ch;
}
在main.c文件里面调用printf函数
USART2_Init();printf(" ", );
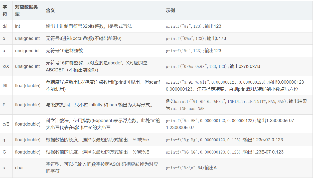
关于printf函数的使用方法可以参考下面的表格:

串口接收
串口接收是指,将上位机(串口助手)的数据发送给stm32,由stm32进行接收
USART_IT_RXNE为接收中断标志位,一旦接收数据,USART_IT_RXNE会置位
u8 RxCounter = 0;//定义计数值
u8 RxBuffer2[10];//定义缓冲区为10void USART2_IRQHandler(void)
{if(USART_GetITStatus(USART2, USART_IT_RXNE) != RESET)//串口接收中断{USART_ClearITPendingBit(USART2, USART_IT_RXNE);//清除标志位/* Read one byte from the receive data register */RxBuffer2[RxCounter++] = USART_ReceiveData(USART2);if(RxCounter>6)//定义接收的字节个数{RxCounter=0;}
}
}
首先构建缓冲区和计数器
串口接收中断之后,清除 USART_IT_RXNE中断接收标志位,将串口接收到的数据存入缓冲区
可以通过debug里面的watch来看缓冲区数据是否正确
本文来自互联网用户投稿,文章观点仅代表作者本人,不代表本站立场,不承担相关法律责任。如若转载,请注明出处。 如若内容造成侵权/违法违规/事实不符,请点击【内容举报】进行投诉反馈!
