python自动化其他常规操作
前言
之前已经介绍过很多关于接口自动化的一些相关知识,但是不可忽略,在我们的实战过程中,还有有很多的小细节需要我们去关注和留意的,是都会使用到的,那么接下来,我们就再介绍一些实战会运动到的一些常规操作。
一、数据提取器(jsonpath)
在我们做接口自动化过程中,很难避免,需要接口依赖,就是通过需从上一接口中,提取接口返回结果,然后传递到下一个接口中,通过什么方式比较快呢 ?或者你会想到通过字典一层层的获取,也可通过正则表达式提取数据,还有一种更简单的方法,那就是———— jsonpath数据提取器 ;
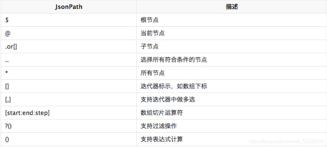
1、简单语法介绍:

2、使用说明
1)JSONPath是xpath在json的应用;
2)JSONPath 是参照xpath表达式来解析xml文档的方式,json数据结构通常是匿名的并且不一定需要有根元素;
3)JSONPath 用一个抽象的名字$来表示最外
本文来自互联网用户投稿,文章观点仅代表作者本人,不代表本站立场,不承担相关法律责任。如若转载,请注明出处。 如若内容造成侵权/违法违规/事实不符,请点击【内容举报】进行投诉反馈!
